文章详情
去App查看

奇瑞也要卖100万了?2挡插混技术,和比亚迪DMO差不多?

对于捷途纵横这个全新的产品序列来讲,新技术给到位后,能不能像坦克或方程豹那样火起来,就看后面会怎么定价了。超过2个小时的发布会,超过一半的时间都在讲新技术,首次亮相了3款新车,插混越野车G700、增程越野车G900,还有一款F700皮卡概念车,梳理一下核心增量,新插混架构CDM-O,新增程架构CEM-O,都是基于纵置2.0T平台打造,非承载式车身,双层电池包,插混用了2挡DHT+P4电机,增程用了分布式矢量四电机,甚至还把船舶工程里的航行推进器也加了进来,原地掉头,浮水航行,蟹行,这些新颖的越野功能,捷途纵横序列几乎都占上了,可问题是,奇瑞、长城、比亚迪,都把自己的技术称为混动越野最优解,究竟谁才是电混越野技术一哥?

除了热效率更高,新技术和比亚迪DMO差不多?

对于混动越野车本身来说,无论是解耦电四驱还是非解耦,亦或者是彻底的串联增程,发动机的戏份都必不可少,这次捷途纵横提到的CDM-O和CEM-O,都用了2.0T混动专用发动机,奇瑞没有披露机型代号,但结合之前的消息看,大概率就是去年才点火成功的H4J20,面对主要以发电为主的职能诉求,这套第5.5代2.0T,显然是要在燃烧效率上搞一些大动作的。

技术基本盘和第五代1.5T类似,要同时满足低油耗和高效发电,而且还要肩负一部分直驱任务,肯定还是得从缸体入手,排量的区别不止是在曲柄半径的差异上,不出意外,新发动机之所以能做到45.5%的热效率,缸径行程比可能会更激进,除了构造窄长燃烧室的思路之外,对于涡轮增压发动机来说,调整的重要方向就是进气部分,整个结构的核心逻辑,是让活塞更多通过惯性,走更远的行程,所谓的深度米勒循环,就是提前关闭进气门,进而实现压缩比小于膨胀比。

当然了,为了在窄深的燃烧室追求一次性点燃,点火能量必然会超过五代1.5T的120mj,直喷压力至少还是在600Bar,而在解决窄长缸体的爆震问题上,奇瑞早在第三代1.6T发动机上就已经用到了鱼肚型进气道做滚流优化,这里提出一个假设,如果这次捷途纵横的2.0T发动机,缸体比第五代1.5T更细长,那新的问题就是均匀点火的难度会更大,所以不排除奇瑞会应用新的技术,就是之前曾提到的预燃烧。

简单说就是在主燃烧室旁再设计一个副燃烧室,预先点燃一部分油气混合物后再推入主燃烧室一次性压燃,但这条路线也有落地难点,双燃烧室理论要具备两套独立的油气和点火系统,单位体积内明显增加了整个缸体的铸造和集成难度,不过去年的专利图也剧透了一些解决思路,就是在预燃室内配完整的供油和点火,主燃烧室不再额外布置火花塞,毕竟这套发动机真正想利用的,只有高转速的负载工况。

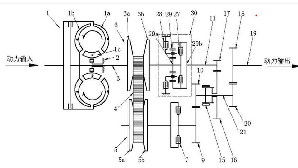
再把目光聚焦到CDM-O和CEM-O架构上。对于前者来说,最重要的技术落地,是2挡DHT的出现,这也是有别于长城Hi4-Z的9HAT和比亚迪方程豹DMO的纵置EHS,最关键的地方。同样,这次奇瑞没有过多介绍这套新变速机构,但是从鲲鹏动力的整套技术体系来看,2DHT大概率就是少了1挡的改版鲲鹏3DHT。瑶光C-DM使用的3DHT,大家已经非常熟悉了,双离合变速器结构,一根输入轴为2挡,另一根输入轴是1挡和3挡,驱动电机连在第二根输入轴上,能使用2个挡位做变速,所以通常也被叫P2.5电机。

但来到解耦电四驱的越野车这边,由于后桥本身就有独立的P4电机给后轮提供扭矩,前轴只要放大电驱工况就好,追求类似CVT的无极变速效果更好,所以在这套变速机构的基础上,就不需要第二根轴上的1挡位来变速,所以之前2个挡位之间的换挡拔叉也不再需要,只剩3挡和车轮始终相连,位置也就变成了P3电机,和发动机曲轴相连的一号电机除了发电,也能直驱衔接动力,所以,整套动力架构就变成了纵置P1+P3+P4,是不是很眼熟?这和比亚迪方程豹用的那套DMO看着非常类似,但是在动力分配的逻辑上,二者又是完全不同的,毕竟后者压根没有使用多挡DHT,而是把DM-p的EHS变速机构纵置了过来,而且这次的捷途纵横用的P1+P3结构,比传统电机构型又多了一套无离合两档四驱,所以新架构起码有4个动力源,而具体的能量传输效率和串并联分配情况,还要等后面奇瑞披露详细技术后再讨论。

至于CEM-O的增程越野技术,目前仅有的信息是分布式矢量四电机,后桥轮边双电机结构,除了2个智能挡位,后桥还有硬锁,总功率1200kW,轮端扭矩18000N·m,相当于2台奔驰G500的V8双涡轮动力,基本上只要驾驶经验或技术到位,脱困自救不是太大问题。电池倒是值得大家关注一下,插混配了4C神行电池,增程配了6C麒麟电池,关键是在成组方式上,用了上下分层结构,唯一的疑问是,既然选择了分两层成包,短刀的电芯是肯定的,但不到40度的电池容量,如何来保证纯电续航呢?又或者说,都是把电池包放在大梁中间,有必要做成分层式吗?

悬架没配整体桥,越野强度可能不如Hi4-Z?

在最考验越野底子的底盘悬架部分,这次捷途纵横没有选择传统的整条桥,一方面是在于想把后轮转向技术加进来,进而提高在极限场地的灵活转向需求,另一方面,也正是因为需要让后轮在Y轴转动,就必须解放悬架的整体性,所以多连杆结构也就成了最后的选择,尽管方程豹也用的是多连杆后悬,准确来说是更强调抓地力的双叉臂构型,但本质上,其是有云辇-P液压控制系统来拔高复杂路口的支撑性的。

复盘一遍云辇-P,可以看到核心就在避震筒具备三种刚度,当避震筒收缩,筒内的油液进入第一个储油罐进行缓冲,第二个储油罐内配有电磁阀,可以控制悬架阻尼,通过调节对流孔大小改变油液流速和量来起到改变悬架的高低和速度,最大可调150mm,举升100mm。再来看捷途纵横的云台底盘,基本操作也是选择了液压悬架的思路,具体细节没披露,但有几个数据,底盘举升速度700mm每秒,行程在负127到正101mm,我们推测,新底盘很有可能也用到了多段式的液压系统,但具体到越野场景的实际表现,还有待考证。

再回到悬架部分上,由于激光雷达的加入,奇瑞可能是想把软件定义汽车这个概念,也放到硬派混动越野车上,而要想给到满血的主动底盘调节效果,双腔空簧+双阀CDC是肯定的,但是话又说回来,越野车配激光雷达做越野NOA细分场景,大家也都能理解,但既然是为了应对有难度越野场景而来的车型,这套底盘在耐久性或刚性维度上,有整体桥靠谱吗?

之前我们曾分析过,长城Hi4-Z为了在后桥放一台大马力P4电机,宁可做成迪翁桥保留整体桥思路,也没有向多连杆妥协,为的就是让后悬架达到上限更高的扭转刚度,带来更夸张的悬架行程,在越野要慢的驾驶思路里,这套底盘始终是完成高难度通过性的刚需,所以即便是用上了四电机的奔驰G580,也没有彻底放弃传统的刚性车桥。

所以,就整个技术复盘下来,可以看到捷途纵横在发动机、电机、电池技术上,和长城、比亚迪都有类似的地方,但效果各不相同,如果真的要拿底盘来衡量硬派电混越野车的绝对能力,那专为舒适性而来的多连杆,效果和追求刚性的整体桥,显然是不在一个维度上的,但要说也把市区代步场景考虑进来,那在这个细分赛道上,奇瑞可能真的能称的上是越野技术一哥,当然了,若是在价格层面比搭载DMO和Hi4-Z技术的车型都贵,那这个头衔,还会回到长城和比亚迪的身上。

点击展开剩下0%
打开汽车之家App 阅读体验更佳
本内容来自汽车之家创作者,不代表汽车之家的观点和立场。
举报/纠错
打开汽车之家App 查看全部评论
精彩视频
相关阅读
数据加载中...
发条有爱评论~
评论
点赞
收藏
分享
2025-12-24 01:24:22
2025/12/24 01:24:22