文章详情
去App查看

经典V4重现?本田全新引擎专利曝光

说到本田技研的灵魂,除了那让人高潮的直列四缸 VTEC 之外,绝对不能不提 V4 引擎的辉煌历史。 从1982年一路传承到2020年,那挂着VF或VFR名号的车款,始终代表着本田对于性能与技术的极致追求。 虽然这几年V4的消息总是只闻楼梯响,但在这个2025年的12月,外媒挖出了几份相当具体的专利文件,看来本田这次不只是画画大饼,而是真的在为了新一代的V4猛兽做准备。

官方新闻稿。 本田Motorcycle VFR1200车系召回服务


重点整理
本田注册多项关于 V4 引擎的新专利,技术细节惊人。
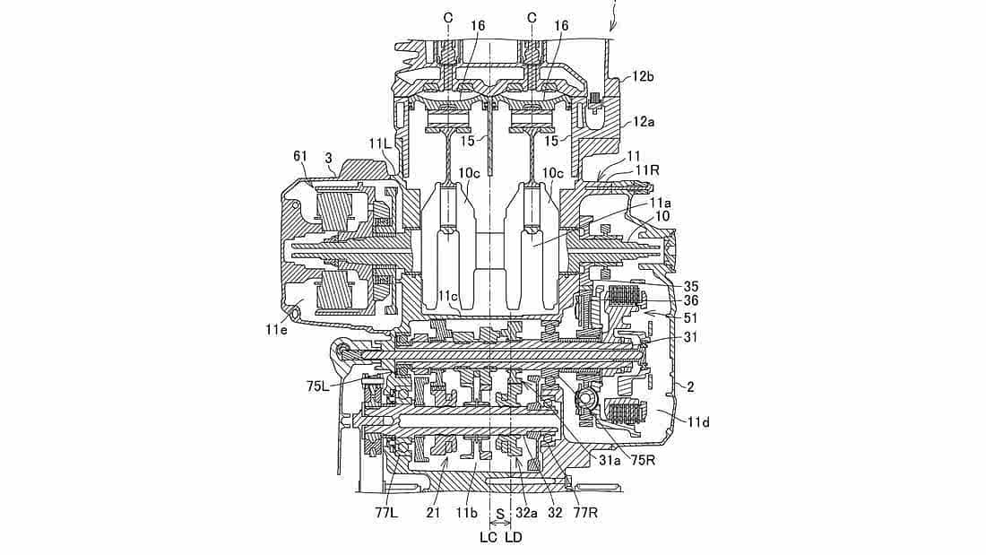
新设计着重于减少机油泵浦摩擦力与针对后缸的散热提升。
引擎体积比起旧款 VFR1200 更加紧凑轻量。
专利图显示配备平衡轴,且可能回归90度夹角设定。
舍弃轴传动改采链条传动,运动性能可能大幅提升。


这次流出的专利并非单一零件,而是涵盖了整体的动力架构,本田一口气申请了超过两项专利,其中最核心的技术在于全新的机油循环系统。 这套系统经过特殊设计,能够大幅降低机油泵浦内部的运转阻力,意味着更少的动力流失。

此外,本田也展示了一种新的气缸头固定方式,虽然专利图上很「狡猾」地用直列双缸来示意,但明眼人都看得出来这其实是 V4 引擎的一半。 另一项专利则聚焦在V4引擎最令人头痛的散热问题,通过V型夹角内的特殊管路设计,优先针对散热较差的后方气缸进行冷却,这对于长时间骑乘的耐用度绝对是一大福音。

如果有接触过上一代 VFR1200F的车迷肯定印象深刻,那颗引擎虽然动力饱满,但体积与重量也是「重量级」的,光是前气缸之间的间隙就宽得吓人。 不过从这次的新专利图来看,本田工程师似乎下定决心要让它瘦身,引擎与变速箱的整体外壳看起来异常紧凑。 这可能归功于新的润滑系统设计,通过在曲轴箱内设置小型的辅助储油槽,来提升发电机、启动盘、水泵浦和离合器的润滑,进而缩短了油道的长度,让整颗引擎结构更加扎实精简。

至于大家最关心的引擎特性,也就是这颗 V4 到底是走什么样的点火风格? 上一代VFR1200 采用特殊的 76 度夹角搭配 28 度曲轴销位移,创造出类似同轴点火的 Big Bang 独特节奏,优点是不需要平衡轴。 但这次的专利图中,编号26的零件明确显示为平衡轴,且气缸夹角目测更接近经典的90度设定。

这意味着新引擎可能采用均等的点火间隔,也就是传统的 Screamer 高频声浪,虽然需要平衡轴来抑制震动,但那种绵密高亢的运转质感,与现在市面上 Aprilia 的 65 度 V4 或 Ducati 的 Twin Pulse 设定会有截然不同的听觉享受。

最后一个值得注意的细节是传动系统的改变。 如果本田真的打算量产这颗引擎,未来的 VFR 可能会跟著名的单摇臂轴传动说再见了。 专利文件中明确指出了后轮采用链条驱动,虽然车厂有时候会在专利里留一手,但在这个项目上本田似乎写得很死。

这也暗示了新车款可能会更偏向运动化设定,而非纯粹的休旅用途。 至于我们什么时候能看到实车? 考虑到专利是在2024年5月申请、2025年底公开,依照日本车厂谨慎的个性,恐怕还得再等个两三年才有机会看到这台V4猛兽重返街头,不过笔者身为末代VFR800F RC79的车主,看到这则消息真的是相当期待,即便从专利的细节来看,重生的VFR或许不再是跑旅车设定,但考量到VFR这车系本身就有浓厚的赛事血统,或许一台采用V4 心脏的仿赛跑车重返车坛,会是更令人热血沸腾的新篇章。




点击展开剩下0%
打开汽车之家App 阅读体验更佳
本内容来自汽车之家创作者,不代表汽车之家的观点和立场。
举报/纠错
打开汽车之家App 查看全部评论
相关阅读
数据加载中...
发条有爱评论~
评论
点赞
收藏
分享
2025-12-17 03:04:12
2025/12/17 03:04:12