文章详情
去App查看

宝马将会用上这样的可升降换挡杆?

宝马鸡腿档杆是车友们津津乐道的设计之一,近日宝马在国外的一项专利中显示,新的换挡杆将会是全新的块状设计样式,一起来看。

宝马鸡腿档杆是车友们津津乐道的设计之一,近日宝马在国外的一项专利中显示,新的换挡杆将会是全新的块状设计样式,一起来看。





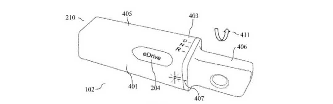
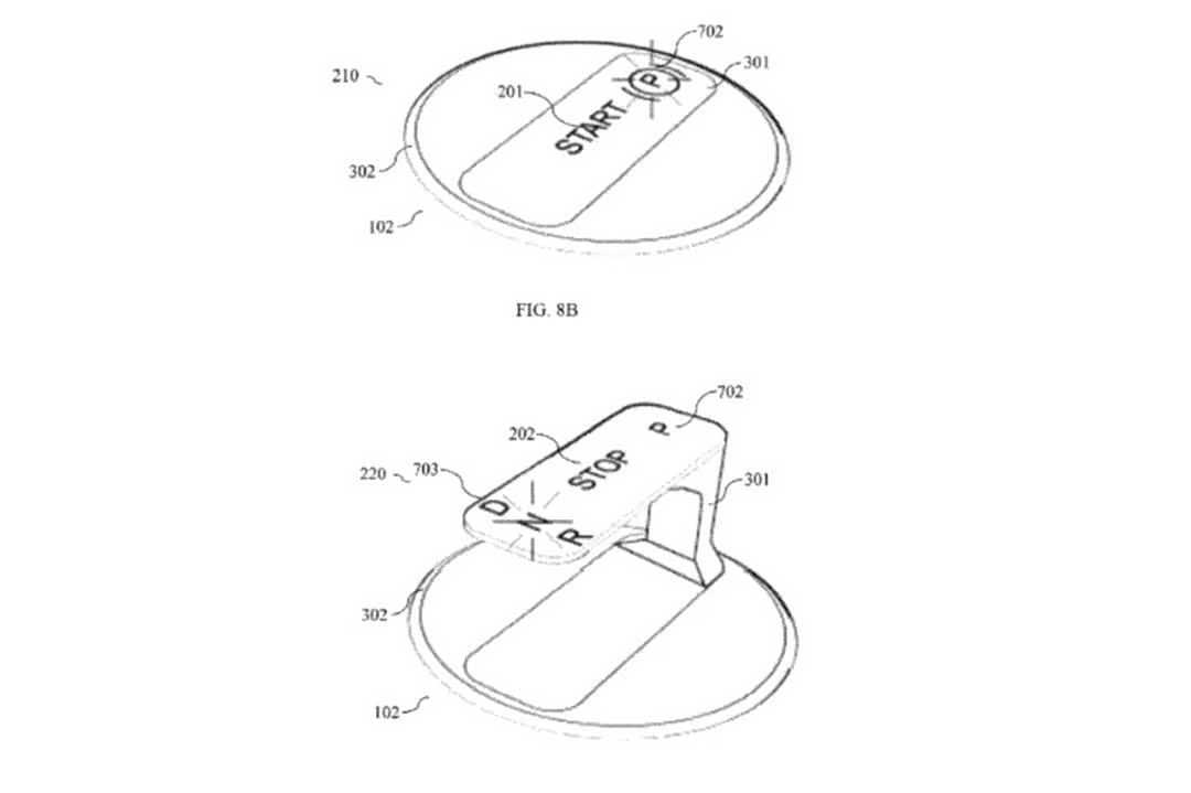
(上图为效果图)新专利图中的宝马档杆是可以上下升降的,用上方的一块触控屏来控制。当车辆静止没启动时,中控面板是完全齐平的,上方显示一键启动功能和红色的P挡。而点击启动按键之后,挡杆会升起来,同时在左侧显示档位。





据外媒爆料,车主可以停车之后直接下车走人,车辆会根据地面坡度或油门踏板等因素自动决定是否需要挂入P挡。这会将进一步简化用车步骤,但一定是需要时间来适应的。







新专利的宝马档把设计或将会有三种样式,一类是方形可升降、一类是圆形可升降,还有一类是长条形的旋转式换挡杆,这是为怀挡准备的?你最喜欢哪种宝马档把?


点击展开剩下0%
打开汽车之家App 阅读体验更佳
本内容来自汽车之家创作者,不代表汽车之家的观点和立场。
举报/纠错
打开汽车之家App 查看全部评论
相关阅读
数据加载中...
发条有爱评论~
评论
点赞
收藏
分享
2026-04-17 12:28:47
2026/4/17 12:28:47