文章详情
去App查看

522型轮式装甲车:解放军“大八轮”鼻祖

文/电动汽车时代网评测编辑宋楠

本文为《仿制与自主-人民解放军轮式装备发展史》、《仿制与自主-人民解放军履带装备发展史》系列稿件之一(根据笔者心情,可继续就解放军地面武器装备技战术展开XX余篇原创稿件)。

从1949年建立新中国至1979年改革开放,我人民解放军轮式装备发展始终落后于履带式技术装备。这一境遇的出现,与当时国家经济状况、国防策略以及汽车工业实际境遇决定。由于中国汽车工业完全建立在苏联援助之上,虽然起步并不落伍,但在此后的20余年(1960年起、1984年止)中发展缓慢。这也导致我人民解放军轮式装备发展困难大于履带式装备。

尽管,存在这样、那样的问题与困难,但是以201所为首的我军装科研人员,始终未放弃在轮式装备的动力总成、驱动车桥、整车防护等领域的研发和生产。

本文通过对522型8轮驱动装甲车的独家技术点评,为您解读我人民解放军轮式装备50余年发展的艰辛坎坷与荣誉成就!

备注:中国北方车辆研究所(又名中国兵器工业集团第二〇一研究所)是中国兵器工业集团公司下属的综合性大型科研基地、特种车辆技术开发中心和试验检测中心,属于国有独资事业单位。主要从事特种车辆整车及部件的研究、设计、试验与试制。

1、研发背景:

在64式6x6轮式装甲车参与镇压第一次拉萨叛乱之后,凸显了轮式装备在机动性上对履带式装备的优势。但是,64式轮式装甲车的孱弱动力、较高的故障率以及通往拉萨与印度边界糟糕道路的表现,及一汽(64式轮式装甲车使用由一汽制造的CA-30A型越野车通用的动力、传动和车桥)的CA-30A系列越野卡车的产量严重不足,使得64式6x6轮式装甲车并未量产。

在1969年爆发的中苏珍宝岛边境冲突中,有预谋的苏军使用BTR-60系列8x8轮式装甲车、T-62中型坦克以及“冰雹”系列重型火箭炮,对我人民解放军边防部队进行突袭。尽管,我军在付出较大伤亡代价,缴获了一台T-62主战坦克,但苏军的BTR-60系列轮式装甲车优异的机动、防护和火力均衡性能,让我军最高统帅部认为研发一款性能相当的轮式装甲车势必要的。

尤其是,我国“三北”地区几乎暴露在苏军的“装甲洪流”可三天突击的“包围”中。而我军在1960年代的步坦协调能力,机械化普及率以及为步兵提供高效机动的载具只有63式履带装甲输送车。为了应对可能爆发更大规模的中苏战争,解放军急需一款可大规模快速装备,技术性能等同或超越BTR-60的8x8轮式装甲车。

522型8x8轮式装甲车(后文简称522车),是中央军委装甲兵司令部责成201所负责研发,并由位于包头的北方厂生产。为了缩短研发周期,被赋予编号为522型8x8轮式装甲车动力总成、传动组件、驱动桥差速器总成,由二汽制造的8轮驱动的20Y改型越野卡车移植而来。

上图为二汽20Y改型车实车特写。

曾有文章指出522车动力总成和车桥使用的二汽35D型车技术,实际为20Y改型车配套的动力、传动、部分车桥技术。厂家内部编号为25Y的车型为6x6驱动的EQ-240。

实际上,20Y改型车桥技术使用的还是整体桥。只不过,动力总成输出的动力,经过位于第2、3驱动桥中央的分动器,向前传递至第2、1驱动转向桥,向后传递至第3、4驱动桥,第2、3驱动桥使用贯通式差速器的模式,被522车所沿用。

二汽的20Y改型车已经使用了双A型摆臂+断开式车桥全独立悬架结构,并引入了贯通式差速器和多转向驱动桥等新技术。

上图为济南重汽黄河JN-251试车特写(研发于1970年之前)。

1960年代中期,济南重汽黄河JN-251采用8x8轮驱动,但是有效载荷只有3.5-4吨,根据一汽研发的测试用8x8驱动装甲车技术(并未使用双A型下摆臂独立悬架),搭载自“大解放”CA-30A动力、传动技术和悬架解决方案。小批量生产的黄河JN-251型8x8驱动重型载具,被我第二炮兵某部应急使用。但从终端“用户”使用体验看,黄河JN-251最大问题还是“小马拉大车”。

济南重汽自行研发的JN-251车,采用的整体式车桥非独立悬架。

上图为重汽黄河JN-252测试车实车特写(研发于1970年之后)。

8轮驱动的20Y改型车的样车以及全部技术资料,为研发522车的“同时(几乎)”,转给济南重汽(1972年),用于研发配套我第二炮兵部队DF-3系列地对地核导弹牵引载具:JN-252车。

济南重汽JN-252车,采用二汽20Y改型车桥技术。

2、外观:

至今为止522车留下来的技术资料相当稀少,只有微博用户@@虹摄库尔斯克为坦克装甲车辆杂志撰写的介绍稿件最为详实。至于522车的长宽高、轴距以及装甲厚度、内饰状态等至关重要数据,已经无从考证了。

目前保存522车实车的地点也只有位于包头北方兵器公园、苏州昆山亭林园。北方兵器车中的522车目前还保留,但是岁月的侵蚀已经让其不复当年的雄姿。而昆山亭林园中的522车,因园区改建而被拖走,下落不明(2017年1月30日,微博用户@虹摄库尔斯反馈的最新资讯)。

通过对极为珍贵的图片资料考证,青山的522车为包头522车的改型,并最终定型为523车。相关细节后文具体论述。

522车的整车尺寸小于采用相同技术架构的重汽黄河JN-252车。笔者判断522车长宽高6385x2650x2609毫米;第1、2驱动转向桥和第3、4驱动桥轴距同为130mm;第2、3桥轴距为250mm。单位功率11.0kW/t,最高车速80km/h,最大航速3.3km/h,最大行程500km。522车具备自身浮渡,车轮划水能力,车内安装有一部A-220型坦克电台。

522车可承载16名全副武装的士兵,并采用背向乘坐方式,可利用载员舱两侧设定的固定式3人长条座椅,是载员舱后部形成较大空间,便于载员经后门快速山下车。组观察孔与射击口。后尾门为由左向右(从驾驶员一侧向副驾驶员一侧)开启。

上图为522车前部动力舱及相关分系统附件特写。

红色箭头:可由后向前开启的动力舱检修舱盖

白色箭头:在驾驶舱内手动控制的进气道

黄色箭头:驾驶舱前风挡玻璃装甲护板(由下向上开启)

绿色箭头:侧观察窗以及装甲护板

粉色箭头:副驾驶员一侧前照灯组的雾灯

蓝色箭头:驾驶员一侧前照灯组的防空灯

522车采用纵置动力前置,经4前速手动变速器和中传动轴将动力输出至,位于第2、3驱动桥的分动器。前部动力舱和载员舱舱为整体焊接而来,动力组件内置、悬架固定在全封闭的车身上。尤其是带有装甲防护的侧观察窗,与后续改型而来的523车一样,被认为是我军轮式装备自主研发的典型特征之一。

上图为522车动力舱检修舱盖(红色箭头)和进气道百叶窗(黄色箭头)细节特写。笔者站在载员舱向前部动力舱拍摄,由于动力舱倾角,导致照片有些失真。

右上图可见,动力舱盖为一块装甲板独立焊接,并通过发动机顶部开启活动检修舱盖,达到防护能力与维修便利性的平衡。

522车前照灯为独立设定,钢制保护格栅仅对容易破碎的灯具面罩(玻璃材质)保护,而没有对灯具整体进行保护。这种设定,在63式履带装甲车以及日后所有服役我人民解放军轮式装备上不再出现。

上图为522车动力舱驾驶员一侧进气道特写。

红色箭头:被后来用铁板封闭焊接的进气道

与动力舱驾驶员一侧设定进气道相对应的是,另一侧同一位置也是设定为进气道。位于包头北方兵器城展示的522车为最原始的基型车,采用的二汽20Y改型车匹配的发动机(也被用于EQ-240越野卡车),最大输出功率仅有100kW的6105型舰用柴油机。

上图为青山522改型车左前(感谢微博用户@GUSTAV_WANG)特写。

上图为青山522改型车右前(感谢微博用户@GUSTAV_WANG)特写。

从青山522改型车动力舱细节研判,取消了及动力舱两端进气道和排气管,排气管改为中部顶端引出,经载员舱右侧和左侧至车尾(红色箭头),采用单排双出结构。

上图为青山522改型车换装了动力总成后,副驾驶员一侧的载员舱后部顶端的排气管特写。

这种细节上的改进,或被认为是包头522车完成了相关测试后,换装上海SH6135Q-1型水冷柴油机引发的相关改进之一(换装更大功率动力总成,为济南重汽JN-252改进并测试后的技术“反哺”)。

上图为522车前照灯(副驾驶员一侧)外置保险盒细节特写。外置保险盒外壳通过螺栓固定,并具备初级防水、防尘、防泥沙设定。

红色箭头:近光灯保险盒特写(完好状态)

白色箭头:雾灯保险盒特写(缺损状态)

黄色箭头:线束接头

522车的翼子板上转向灯特写。或可以与一汽CA-30系列转向灯通用。

在防护上,522车的首上装甲(红色箭头)、首下装甲(白色箭头)以及侧向装甲(黑色箭头)构成角度较为平均的被弹姿态。首上、下装甲角度相近,没有形成苏军BTR-60或70那样平直的首上装甲、大被弹角度的首下装甲(虽然这种设定有利于两栖行驶姿态)设定。

在保证522车良好防护功能性同时,在外形设定上凸显自主研发的特色。

首上、首下装甲板焊接细节。虽然“鱼鳞焊”有些粗糙,但经过打磨后,没有保留毛刺,粗糙的细节对防护不产生反作用。

包头522车前部装甲结构及行走机构裙板。

具备我人民解放军早期轮式装甲车特色的侧向观察窗(至92式步战车族,都保留相关设定)特写。

白色箭头:侧观察窗护板

黄色箭头:护板开启后,车身装甲板焊接的橡胶缓冲块

红色箭头:园区管理方后期焊接的前观察窗护板支撑

64式轮式装甲车,虽然也是前置动力、6轮驱动,但是整车结构上还是“装甲汽车”。

522型轮式装甲车,前置动力、8轮驱动,但是整车结构已经完全属于“装甲车”。

522车具备更大倾角的前部观察窗、侧观察窗、正副驾驶员顶部进出舱盖以及载员舱顶部舱盖。

红色箭头:副驾驶员进出舱盖

白色箭头:侧观察窗护板

黄色箭头:副驾驶员前观察窗风挡玻璃护板

蓝色箭头:前部观察窗护板橡胶缓冲块固定支架(全部4只缓冲块遗失)

粉色箭头:前雨刷刮臂(只保留固定在前风窗框架的小部分)

上图为522车驾驶员进出舱盖细节特写。

白色箭头:舱盖开启后锁定机构

红色箭头:橡胶缓冲块

笔者注意到,522车全部舱盖以及前观察窗护板共设定7只可通用并互换的橡胶缓冲块。

上图为522车前观察窗、侧观察窗、顶部舱盖以及动力舱百叶窗(与包头522车动力舱盖不同)全部开启的特写。

很明显,前部观察窗护板开启后,由撑杆支撑、前风挡玻璃雨刷刮臂位于12点位置,侧观察窗护板开启可锁定,顶部进出舱盖侧向开启后为乘员提供侧向保护。

上图为站在522车载员舱后部顶端,向车前部拍摄特写。

载员舱顶部共开有两组由前向后翻起的可供双人使用的舱盖,中部设有共车长操作54式12.7mm口径高射机枪的舱盖,前部为正副驾驶员进出舱盖。其中车长战斗舱盖具有2种开启状态,1种为半个舱盖尺寸的开启模式、1种为全舱盖尺寸开启模式。

红色箭头:车长战斗舱盖小尺寸开启结构

白色箭头:车长战斗舱盖全尺寸开启结构

铭刻在强身机匣上的“54式”、“216”和“162537”等字样。

“54式”:仿制前苏联德什卡M36/46式高射机枪,1954年生产定型,曾大量装备部队,后被77式高射机枪取代。54式高射机枪装备后,进行了多处改进:去掉原枪管上的散热片;在枪管上增设提把,便于枪管更换。几乎是我装甲兵部队全部装备的标准配置。

“216”:或为生产单位(中国兵器工业集团216所

“162537”:或为生产序号

522车顶置54式高射机枪操作站位特写。522车标配1挺54式高射机枪,备弹1500发。辅助武器包括步兵携带的武器和信号强。连长车配有1支57式信号枪,备弹12发。

上图为522车载员舱后部舱盖特写。舱盖采用扭杆自紧式固定结构,可固定在任意角度,而不需要任何外力支撑。

红色箭头:尺寸相同可供2人进出或探身射击的舱盖

白色箭头:舱盖橡胶缓冲块

522车车身为全钢装甲焊接而成,侧向装甲为整体装甲板焊接、顶部装甲由4块相同长度装甲板拼装焊接而成。

上图为522车载员舱侧装甲板上的观察孔防弹玻璃,与诺基亚9系列个人通讯终端比对特写。

红色箭头:被喷涂绿色油漆的观察孔

黄色箭头:人为破坏的防弹玻璃

研发自1970年代早期的522车,汲取了64式轮式装甲车在镇压第一次拉萨叛乱的战斗经验,为了应对苏军的装甲突袭,整车正向被要求具备100m距离抗7.62mm口径穿甲弹,侧向装甲50m距离抗122mm口径高爆弹破片。

即便如此,522车防护效能仍然落后于苏军同时期装备的BTR-70轮式装甲车。并非这一时期我国装甲防护技术发展不足,而是动力、传动和悬架技术不过关,导致整车在满足防护需求同时,或动力输出不足、或悬架支撑不足。最终,在现有汽车工业状态下,对防护效能进行退让。

上图为笔者利用小尺寸攀登支架至车顶分解步骤1。

上图为笔者利用小尺寸攀登支架至车顶分解步骤2。

上图为笔者利用小尺寸攀登支架至车顶分解步骤3。

522车车身侧面简洁、大方,没有设定太多可供系留备品或人员的扶手。而苏军从BTR-60开始,至BTR-80装甲车(1960-1990年代),都将车外放置备品以及车外搭载兵员的功能保留。这种设计思路的不同,也导致整车技战术的不同。

包头522车全部车轮都安装有可折叠、拆卸的保护裙板。

红色箭头:具备整流功能的第1转向驱动桥裙板

白色箭头:第2驱动转向桥裙板

黄色箭头:第3驱动桥裙板

蓝色箭头:第4驱动桥裙板

上图为第1、2驱动转向桥裙板连接固定销(红色箭头)特写。

经过对整车多处位置的后期人为修订所看,这段裙板固定销是园区管理方为了便于展出,不被熊孩子拆除而后期加焊,并非522车最原始技术状态。

3、内饰:

上图为青山522改型车内部状态特写。

移植自二汽EQ-240越野卡车的三幅面方向盘。车速表、水温表、机油压力表、电压表等仪表和功能开关被布置在仪表台上。

驾驶舱内的正副驾驶员外侧护板为轮室罩,容纳两侧车轮。

4、动力:

前文提到,青山522改型车为换装上海SH6135Q-1型水冷柴油机(济南重汽黄河JN-252车型匹配的动力),前部动力舱内附件及发动机支架重新调整,排气管也被转移至车顶。

请注意:直列6缸柴油发动机缸盖上铸造着“提高警惕,保卫祖国”标语口号,具备相当强烈的时代感。

522基型车最先配套使用的是6105型舰用柴油机,最大输出100kW。这也是1960-1970年代中,可以找到的体积、重量、动力等性能较为均衡的动力总成。尽管是舰艇动力,但是在二汽的20Y改型车上表现“优异(无奈中的无奈)”,而被继续用于522车。

至1973年之后,济南重汽黄河JN-252车利用二汽20Y改型车技术进行二次提升,换装了性能更好的6135Q-1型舰用柴油机,并完成了4前速手动变速器和分动器以及4组驱动桥的技术匹配。在522基型车完成测试之后,201所利用换装新动力总成的黄河JN-252车成熟技术进行二次提升,并对车身以及行走机构进行改进。

上图为黄河JN-252匹配的6135Q-1型舰用柴油机起动机(白色箭头)和右后悬置支架(红色箭头)特写。

SH6135Q-1型直列6缸12升排量柴油机,最大输出功率147千瓦、最大负载发动机水温不超过90摄氏度。较6105型舰用柴油机性能提升显著,使得522改型车加装提升通过性的轮履合一的行走机构。

上图为布置在黄河JN-252型第2、3驱动桥之间的变速器和分动器(动力再分配总成)特写。

红色箭头:上海SH6135Q-1型水冷柴油机

黄色箭头:5前速手动变速器

紫色箭头:换挡机构

绿色箭头:动力再分配总成

黄色箭头;后传动轴轴间减速装置(鼓式制动器)

蓝色箭头:后传动轴(至第3驱动桥)

青山522改型车在换装上海SH6135Q-1型柴油机同时,也一同引入匹配得当的变速器和分动器。只不过,发动机-变速器的中传动轴被适当缩短,以便容纳车身尺寸小于黄河JN-252的动力舱及载员舱前部。

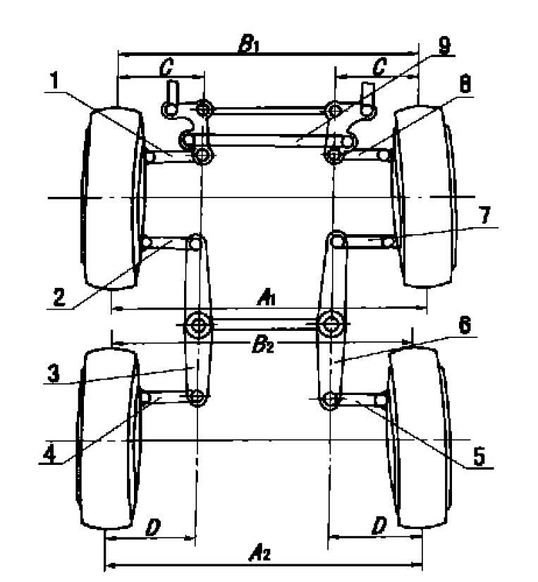
上图为黄河JN-252型传动组件结构简图,522车动力传动系统结构大致如此。

包头522基型车配置的是分时8轮驱动系统,在复杂路况8轮驱动,在铺装路面可切换至后4轮驱动。换装了重汽黄河JN-252动力总成后,1款522改型车具备与黄河JN-252一样的实时8轮全轮驱动能力;1款522改型车则保持基型车分时8轮驱动能力。

上图为青山522改型车行走机构特写。很明显,第1转向驱动桥车轮为传统越野胎,第2转向驱动桥和第3、4驱动桥轮胎则使用523型轮履合一装甲车一样的带有胎钉,并可匹配特殊履带的轮胎。

最终具备全时8轮驱动能力的522改型车,定型为523型轮履合一装甲车。

5、悬架:

早在2年前,笔者第二次抵达包头北方兵器城拍摄522车。奈何,522车行走机构被植被全完包裹,根本无法拍摄细节。

2年之后的2017年春节,笔者再次来到包头北方兵器城,专程拍摄522车悬架和传动的细节。

包头522车匹配的轮胎为东风牌11-18型越野胎。

包头522车、青山522改型车为8轮驱动,第1、2桥为同比转向驱动桥(前后车轮转向角度完全相同)。

红色箭头:第1、2转向驱动桥呈现一定转向角度

上图为包头522车副驾驶员一侧第1转向驱动桥悬架特写。

红色箭头:前下A型摆臂固定在车身焊接上的前端固定杆

黑色箭头:前下A型摆臂

白色箭头:前上A型摆臂

粉色箭头:前减震器总成(含螺旋弹簧)上固定端

蓝色箭头:下端固定在下A型摆臂的减震器总成

绿色箭头:传动半轴

黄色箭头:转向节(标准名称,并非羊角、仰角)

上图为包头522车驾驶员一侧第1驱动转向桥后部结构特写。

红色箭头:下A型摆臂

蓝色箭头:上A型摆臂

则色箭头:上下摆臂与车身焊接的固定端

绿色箭头:制动软管

白色箭头:从转向机引出至转向节的转向拉杆组件

上图为包头522车第3驱动桥减震器总成上端结构细节特写。

红色箭头:焊接在车身的减震器总成支架

白色箭头:减震器总成上端固定螺栓

绿色箭头:减震器总成上端橡胶缓冲块

黄色箭头:橡胶缓冲块上下盖

从522车减震器总成结构看,基本上与现在民用车用减震器结构完全一致。这足以表明1970年代,我国汽车工业发展的实际状况。

上图为包头522车驾驶员一侧第4驱动桥悬架特写。

白色箭头:传动半轴“固定”在转向节中心

红色箭头:减震器总成固定下A型摆臂的螺栓组件丢失

在研发522车时,我国已经拥进口自罗马尼亚的TAB-77轮式装甲车(苏制BTR-70装甲车的翻版)使用经验。对于BTR-60、70轮式装甲车使用的双A型摆臂+断开式“门式桥”结构并不陌生。而这种悬架+驱动结构可以有效提升离地间隙和通过性。522车使用的双A型摆臂部分形式与BTR-70系列装甲车相近。但可变刚性扭杆弹簧、断开式“门式桥”则因为对加工工艺和承受扭矩冲击的材料达不到使用要求而放弃。

包头522车的悬架与驱动结构,与青山522改型车以及523轮履合一车完全相同。只不过在523轮履合一车型上转向拉杆组件有所进化。不得不说的是,522车的悬架与驱动结构,奠定了之后40年我军6轮、8轮驱动轮式载具的技术基础。

题外话:

直到1976年,济南重汽黄河JN-252车的研发,才解决可变刚性扭杆弹簧工艺与材料问题。而断开式“门式桥”至2000年代都未解决。北汽曾有意逆向仿制乌尼莫克U5000,之所以未成功还是“门式桥”的同轴反转齿轮组工艺和材料原因。

2008年,北京燕京特种车厂利用GAZ厂“虎式”装甲车授权技术,生产的“卫士”系列装甲车,才得以将断开式“门式桥”技术彻底拥有自主知识产权和批量生产能力。

上图为包头522车轮胎及轮毂细节特写。

红色箭头:充气组件(不具备中央充放气功能)

黄色箭头:转向节中心传动半轴顶盖

笔者曾经在某本专业军事杂志上看到,一位我国资深兵器专家对北朝鲜人民军舞水端自行导弹发射载具描述的话语:“不管是10x10还是12x10驱动,只要看看轮毂是凸出来,还是凹进去就可以确定这个车桥是否具备驱动能力。”

用1980-1990年代汽车传动标准衡量,这段话并没有错误。但是以2000-2010年车桥技术标准衡量,负值轮毂+小型化传动半+可承受大扭矩轮毂轴承,则完全推翻这种是否具备驱动力的判断标准。

无论包头522基型车,还是青山523改型车,522车族无疑是我军第一款真正意义的8轮驱动轮式装甲车。多驱动桥技术、换装不通动力总成的兼容性、平衡动力、驱动效能的防护力,都使得522车具有承上启下的标志型车族。

64式6x6轮式装甲车

研发与1960年代的64式6x6轮式装甲车,直接“照搬”一汽CA-30A动力、传动和驱动系统。

全封闭的车身,仍然将驱动桥、传动轴、分动器等行走机构完整的暴露在外。

汽车的属性更强于装甲功能性属性,受我国汽车工业仍然十分薄弱的状况制约,64式轮式装甲车只是解决我军轮式载具“有和无”的需求。

522型8x8轮式装甲车

我军历史上第一款正向研发的8轮驱动装甲车。在10年间的研发周期中,换种不同动力、具备实时8轮驱动和分时驱动、纯轮式行走和轮履合一行走改型车。成为我军此后40年轮式装备发展的重要拐点。

也正是从522车开始,我人民解放军轮式装备开始走向自主研发为主,兼顾外部引入的优势技术为辅的发展模式。

523型8x8轮履合一装甲车

可以被看做是522车的重大改型。在换装了动力储备有充沛的6135Q-1型舰用柴油机起动机、8轮实时驱动系统之后,523轮履合一车的动力输出更优秀,可以将522车研发策略从动力为基础,兼顾通过性,最后才考虑防护效能。同时期,BTR-70装甲车,却可以做到用两台柴油机并联成一台大马力发动机。

无疑,1970年代的中国汽车工业,并不具备将这一技术用于大规模生产并军事应用的能力。

但是523车的轮履合一驱动模式,确是我国独家原创研发的。

523轮履合一车的悬架,在522车基础上稍加改进,就可达到优秀的通过性。奈何,523轮履合一车还是因为性能平衡性缺陷而未能量产。但是在研发522车和523车型过程中,积累的丰富的车桥技术和设计经验,为济南重汽黄河JH-252成功量产打下坚定基础。

黄河JN-252型8x8载具

利用与522车相同技术源的20Y改型车(8x8)全部技术,扩大整车尺寸,换更大马力的6135Q-1型舰用柴油机,匹配全新研发实时8轮驱动系统而来的黄河JN-252车,是我军历史上装备第一款“大八轮”。

黄河JN-252的第1、2驱动转向桥结构,与523车完全一致。

黄河JN-252车匹配断开式车桥+双A型摆臂+扭杆弹簧的结构,较523车更优秀,整体效能更加接近是苏式BTR-70车系。

黄河JN-252车的可变刚性扭杆弹簧由济南重汽厂独立攻克加工工艺。其搭载的两种两种口径的扭杆弹簧的制造,济南重汽也开发出全新的加工技术和流程。当时济南汽车制造厂热处理车间的高温炉深井炉马弗缸深只有1.2米,加工1.7米扭杆弹簧至少需要2.2米深的马弗缸。这就意味着加工1.7米扭杆弹簧不能全部没入1.2米马弗缸,如果采用“分段压制,最后成型”方式,将导致扭杆弹簧受力不均,刚性不均衡。最终采用将两个1.2米长马弗缸焊接,利用“分段加热、分段控制”方法,并由10多位老技工用甲醛分裂法制造保护气体,最终确保扭杆弹簧制造成功。

黄河JN-252车成为我第二炮兵部队牵引“DF-3”地对地导弹载具,其实时8轮驱动系统和悬架技术,即便在今天都不落伍。

92式6x6步战车族

1975年开始研发,使用大量来自德国奔驰2026车桥技术、道依茨柴油发动机、ZF多档位超大扭矩手动变速器、轮边减速技术、轴间差速器、6轮驱动分动箱、高性能耐用性转向助力系统,以及多管路制动系统,最终于1992年定型并服役。

92步战车族在90式6x6轮式装甲车基础上改进而来,其发动机、车桥、变速器、减速器、转向系统,全部为进口技术国产化。无论通过性、防护力还是改型潜力,都成为我军历史上最重要的轮式载具。92式步战车族的悬架技术,从523车、JN-252车实际使用表现中,再次进化。采用结构更为简单的双A型摆臂+减震器(螺旋弹簧)总成的架构。

1990-2010年代,我国重工业和汽车工业飞速发展时,92式步战车族以及多款2000年代之后改型车的悬架、传动以及车身防护效能,也相应的获得提升。

09式8x8步战车族

09式8x8步战车,是我人民解放军装备的第1款8x8轮式步兵战车(族)。09式步战车全重16吨,乘员为车组3人加载员7人,动力舱位于车首右部,驾驶员、车长位于动力舱左侧,战斗室居中,后部为载员舱。布置有3名乘员和7名载员。车内各舱室之间设有隔音、降噪、隔热的隔板。载员舱设有射击孔,增强了搭载步兵乘车作战的能力和下车作战时对他们的火力支援能力。

09式步战车族拥有步兵战车、装甲运兵车、突击炮、自行迫击炮、自行榴弹炮、自行高炮、工程抢修车以及电子战指挥车等众多改型。

09式步战车搭载BF6M1015CP水冷式柴油发动机输出功率330kW,单位功率为15.7kW/1000kg,动力储备充足。09式步战车在公路上最大速度达100km/h,越野平均速度40km/h,最大爬坡度达30°,可跨过1.8m宽的壕沟,通过0.55m的垂直墙,公路最大行程800km 。该车还具备水上浮渡能力,无需准备就可以通过风浪不大于三级的内陆江湖。

09式步战车族全系标配计算机控制的中央充放气系统,可使全部或单个轮胎气压在数分钟内提高或降低到预定值,增强车辆在沼泽、软沙地带的通行能力。

上图为09步战车族中的突击炮改型车的第2驱动转向桥、第3和第4驱动桥结构特写。

红色箭头:下A型摆臂的减重处理状态

白色箭头:全车通用的下A型摆臂

黄色箭头:第3、4驱动桥

上图为09步战车突击炮改型车2驱动转向桥细节特写。

白色箭头:连接第1、2驱动桥的转向拉杆

黄色箭头:转向中拉杆

黑色箭头:转向小连杆

绿色箭头:转向节与专项小连杆固定球头

红色箭头:下A型摆臂

蓝色箭头:转向节固定在下A型摆臂的球销

很明显,09式步战车族的第1、2驱动桥的转向拉杆组件,无论结构还是形式都与523车相同。

09式步战车族下A型摆臂(黑色箭头)、减震器(红色箭头)、减震器(黄色箭头)等技术特征,又是在92式步战车基础上改进而来。

笔者有话说:

从64式6x6轮式装甲车至09式8x8步战车族,跨越50余年的发展,实际就是我国汽车工业发展的缩影。

1950-1960年代,我军装科研人员和汽车工业从业者,主要是学习苏军装备设计特点,并尝试研发符合我军战术习惯和我国特殊国情的地面装备。

1960-1970年代,我国与苏联、美国、以及周边国家的战略态势的改变,“迫使”我军装研发和汽车工业走上独立自主道路。开局很难,但走出了我军装备研发自己的特色。

1970-1990年代,利用我国意识形态的灵活转变,与美、英、法、德国关系的缓和,再次引入更先进的军事、汽车、重工业技术,吸收精华后,为我军所用。

1990-2000年代,在苏联解体后,吸收、掌握并国产化重型车桥技术,我军轮式装备飞速发展。

2000-2010年代,中国汽车工业第二次井喷式发展。连带军事装备全领域的独立自主发展,我人民解放军海、陆、空、天装备完成了核心技术自主研发,到系统装备全向自主研发的重大转变。

我们的目标是星辰大海:

从64式6x6轮式装甲车至09式8x8步战车族,跨越50余年的发展,实际就是我国汽车工业发展的缩影。每一代轮式装备的进化,都与我国汽车工业、重工业、科研院校以及中国经济状态好转有着直接关联。

不可否认,在09式步战车族服役之前,每款轮式装备,都被动力、传动、悬架等分系统技术标定所制约战术状态。

上图为VT-4主战坦克装备的高压缩比柴油发动机。

上图为泰安特种车厂为即将服役的某8x8重型牵引载具,匹配的国产化某型柴油发动机组件特写。

在解决车桥技术、发动机技术以及重型自动传动系统之后,我军装备发展将向新能源领域、全电子化推进。

本文汽车之家说客平台首发,禁止其他任何媒体或自媒体转载

文/电动汽车时代网评测编辑宋楠

欢迎加入宋楠的公众号“换个角度看车市”

点击展开剩下0%
打开汽车之家App 阅读体验更佳
本内容来自汽车之家创作者,不代表汽车之家的观点和立场。
举报/纠错
打开汽车之家App 查看全部评论
相关阅读
数据加载中...
发条有爱评论~
评论
点赞
收藏
分享
2026-04-17 13:00:37
2026/4/17 13:00:37