文章详情
去App查看

宗馥莉接任董事长、董事会大换血,娃哈哈“宫斗大戏”大结局?


明争结束,暗斗还会继续吗?


作者 | 高远山‍‍‍

编辑丨高 岩

来源 | 野马财经


辞职又重新履职一个月的娃哈哈宗馥莉,以宗馥·钮钴禄·莉之姿回归。


图源:企查查


企查查显示,8月29日,杭州娃哈哈集团有限公司发生工商变更,宗庆后卸任法定代表人,由宗馥莉接任。股东信息也从宗庆后持股29.4%变为宗馥莉持股29.4%。也就是说,宗馥莉顺利继承了宗庆后的股份。

宗馥莉的职务也从辞职前的副董事长兼总经理,变为如今的董事长兼总经理。

一个月前,宗馥莉还因辞职一事,掀起舆论风波,将娃哈哈的“宫斗大戏”搬到镁光灯下。如今,仅一个月,宗馥莉就从主动辞职到全面接手,这场“宫斗大戏”是否能就从落下帷幕了?


宗馥莉回归一月后,董事会大换血


宗馥莉的一场“逼宫大戏”在一个月后,显现出了结果。‍‍


7月18日,网上流传出一则“致娃哈哈集团全体员工的函”,落款署名为宗馥莉。网传图片内容显示:“由于娃哈哈集团股东对管理的合理性提出质疑,导致管理推进困难。宗馥莉决定自7月15日起辞去娃哈哈集团副董事长、总经理职务,不再参与经营管理。”


当时,娃哈哈总部及地方办事处均表示未收到相关文件,真实性待查。


不过,娃哈哈第一大股东——杭州上城区文商旅投资控股集团对外表示“相关情况还在进一步核实”。据《第一财经》报道,接近娃哈哈的人士透露,前段时间,娃哈哈高层陆续走了几个,但拒绝透露更多信息。有娃哈哈前高管称此事属实。


“澎湃新闻”也有消息指出,一名娃哈哈山东地区经销商人士透露,对于传闻一事,早上已经和总部进行联系,目前娃哈哈高层内部确实存在一定矛盾和分歧,但正在解决中,“家里内部闹矛盾,不是很正常吗?只不过现在网上就公开了。”


彼时,娃哈哈仍由宗庆后持股29.4%,宗馥莉在父亲去世后虽接手了父亲名下多家公司,不过,并未接手娃哈哈股份。


7月18日,宗馥莉传出辞职消息后,宗庆后胞弟宗泽后

在朋友圈公开表示:“是件好事。”


宗泽后认为,娃哈哈从本质上讲国家是大股东,“如果全是你自己的股份,当然你可以爱怎么干就怎么干,国有企业你就是个职业经理人。”


公开信息显示,宗泽后在宗庆后五个兄弟姐妹中排行第四,为贵州娃茅酒业集团实际控制人。


不过,宗馥莉最终还是得到了股东们的支持,继续履职。请辞7日后,7月22日,娃哈哈官网发表声明称,宗馥莉女士决定继续履行娃哈哈集团的相关管理职责。


对此,中国食品产业分析师朱丹蓬认为大股东的决定非常科学、合理、睿智。“第一大股东国资说话算数,认可了宗馥莉。加上这个关键节点,所以一锤定音”。大股东为了各方的利益,为了娃哈哈的可持续发展,把根正苗红的宗馥莉重新树起来,对娃哈哈的未来稳定以及市场运营方面都是有利的。虽然说宗馥莉面临的挑战也非常大,但可以等待时间去解决。在大股东的力挺之下,对于宗馥莉是一个非常大的支撑跟底气。

在第一大股东的支持下,回归一个月后,宗馥莉顺利继承股权,成为董事长兼总经理,并且,娃哈哈的董事会也完成“大换血”。


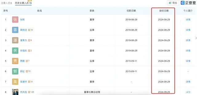
企查查显示,8月29日,宗馥莉变更为娃哈哈董事长同日,娃哈哈的原董事会成员张晖、吴建林、潘家杰、余强兵四位董事,贾暾、郭虹、蒋丽洁三名监事退出。


图源:企查查


其中,退出的张晖为杭州上城区文商旅投资控股集团有限公司董事,同时担任杭州尚诚投资管理有限公司的法定代表人。为大股东上城资本的投资方代表。


吴建林、潘家杰、余强兵则都是娃哈哈的老臣。吴建林为娃哈哈第一批大学生,娃哈哈集团第三任党委书记、常务副总经理,是宗庆后生前的得力助手。


潘家杰在娃哈哈工作30年,从供应部底层做起,为运营负责人;余强兵则是从西北片区提拔起来的技术负责人。


上述七人退出后,新增叶雅琼、洪婵婵、费军伟、王国祥为董事,王国祥兼副总经理。孔沁铭、尹绪琼、许思敏为监事,孔沁铭为监事会主席。


企查查显示,新任的七人均商业履历简单,仅在娃哈哈集团一家公司任职。

接班娃哈哈后

宗馥莉做了哪些改变?


宗庆后逝世后,宗馥莉在悲伤之余,更重要的是带领娃哈哈集团继续稳步发展。目前,宗馥莉身兼娃哈哈副董事长、总经理以及宏胜饮料集团总裁等职务,继承并发展好父亲留下的家业,是宗馥莉的责任也是挑战。


野马财经发现,宗馥莉已接手父亲名下多家公司。一周前,其刚刚接手了拉萨娃哈哈食品饮料营销有限公司,担任法定代表人、董事、经理。而企查查信息显示,今年以来宗馥莉接任杭州娃哈哈电子商务有限公司、浙江启力投资有限公司、杭州宏胜营销有限公司等20余家公司法定代表人职务,随后又卸任其中贵阳娃哈哈昌盛饮料有限公司、贵阳娃哈哈食品有限公司等公司法定代表人职务。


天眼查App显示,宗馥莉名下关联企业有170余家,其中160余家为存续状态,包括杭州娃哈哈启力食品集团有限公司、广州恒枫饮料有限公司、杭州娃哈哈电子商务有限公司等,均为娃哈哈集团旗下或上下游公司,涉及饮料、食品、电商、物流、包装、营销、广告、投资等各领域,宗馥莉多担任董事长、董事、经理等职务。


经过“达娃之争”的娃哈哈集团目前在股权关系、企业营收等方面都比较稳定,这无疑是宗庆后给宗馥莉留下的最大保障,但娃哈哈也面临来自市场的强大竞争压力。


娃哈哈和农夫山泉两大饮品巨头在中国市场上的较量,始终是个热门话题。


过去半年中,农夫山泉的创始人钟睒睒,因为一连串的舆论争议而陷入困境。因为创始人之间的过往,一度引发两大饮用水品牌的全民争论,各种声音此起彼伏。随后农夫山泉一次性公开了20条关于谣言的回复,并已针对这些内容报案和起诉。这一舆论大战被外界视为农夫山泉与娃哈哈竞争白热化的标志。


宗馥莉接班后的第一步是发力线下渠道,但是竞争对手上,农夫山泉依靠多年的经营,在饮用水产品、茶医疗、果汁饮料等方面都更有品牌影响力。


在饮用水市场上,两者的竞争尤为明显。首富钟睒睒主动出击,推出了绿瓶装的农夫山泉纯净水。


而直接杀入娃哈哈的大本营AD钙奶领域的老字号乐百氏日前也正式“复活”AD钙奶产品,这对娃哈哈AD钙奶的市场份额也会造成冲击。


而且怡宝母公司华润饮料也正在冲击港交所……


对宗馥莉来说,有着37年发展历史的娃哈哈集团,目前处境些许艰难,内外交困,更面临着创新和管理两大战略问题。


今年以来,娃哈哈为了打好营销牌也是频频出招,龙年央视总台春晚上,娃哈哈凭借刘谦身后的“AD钙奶姐”迅速出圈;随后,又在元宵节晚上作为赞助商出镜;宗馥莉在2月2日小年夜当天为员工派发6亿元红包的消息也一度引发关注.....


图源:娃哈哈官方微博


宗馥莉曾在接受其他媒体采访时坦言,娃哈哈所在的食品饮料市场是一个消费需求不断变化的市场,在创新产品上, “健康”和“美味”是饮料行业的主流底层逻辑,在“健康”层面做大胆和彻底的创新,与新一代消费群体达成价值共振。


目前,娃哈哈旗下覆盖水系列、粥系列、茶饮品、奶茶饮品、奶类饮品、碳酸饮品等六大食品业务,其中娃哈哈AD钙奶、营养快线、桂圆莲子八宝粥、娃哈哈纯净水是知名国民品牌,而龙井绿茶、C驱动柠檬汁碳酸饮料、黑糖奶茶、晶钻水等多个新品牌是近年来的创新品牌。


图源:罐头图库


宗馥莉也表示,公司正聚焦饮料制造新技术、新工艺的研发应用,并推动新的管理变革。其中,娃哈哈集团初步实现从自动化向智能化的转型升级,宏盛饮料集团打造的“宏胜超链智造”杭州基地2022年已投产。


但宗馥莉面对的市场,已经与宗庆后创业时完全不一样,如今食品饮料行业“百花齐放”,大型饮品企业的产品竞争力也日益精进。


对娃哈哈集团来说,娃哈哈AD钙奶、娃哈哈桂圆莲子八宝粥以及纯净水等国民品牌仍然具有一定竞争力,但新产品的影响力还有待提升,这些问题还需要宗馥莉拿出更能打动市场的办法来突破。


不过,自宗馥莉进入管理层以来,就致力于年轻化的IP打造,并开始了大刀阔斧的变革创新。

2016年,宗馥莉创立了饮料品牌KellyOne。直到她“掌权”后才开始大量在线下超市里出现。据《中国企业家杂志》报道,3月左右,娃哈哈逐渐将更多冰红茶、无糖茶等新品铺到终端门店。


在去年底举办的娃哈哈集团2024年全国销售工作会议上,宗馥莉指出,2024年要真正打开销售新通路。

2024年,娃哈哈提出“2024年,正式确诊为“娃哈哈体质”的宣传语,并推出多种新品饮料,包括4种娃哈哈无糖纯茶、椰子牛乳饮品、牛奶饮品以及相关果汁医疗,但市场反响如何还有待观察。


可以看出,“二代掌舵人”宗莉馥有着雄心壮志,有信心和决心带领娃哈哈大步向前。然而,其主动辞职、股东不满的消息,不免引发市场诸多猜想。


在娃哈哈诸多传言中,最为要紧的是一位自称娃哈哈前员工的举报信,向有关部门举报宏胜集团总裁宗馥莉侵占娃哈哈集团巨额国有资产。


信中称,成立于2003年的宏胜集团,总部位于中国杭州,是宗馥莉100%实控的中外合资企业,在宗庆后去世之前一直是娃哈哈集团的代工厂。宗庆后过世后,宗馥莉在业务上通过转移订单、转移利润甚至转移资产的手段,把原属于国有持股的娃哈哈集团权益转到宏胜集团,有侵吞国有资产的嫌疑。


恒枫贸易有限公司是宏胜集团大股东,占股98%,注册地为英属维尔京群岛。宗馥莉从2004年完成主修国际商务的学业后回国后,开始进入娃哈哈从一线生产做起,2007年宗馥莉开始执掌宏胜集团


目前,没有公开信息可以判断此封举报信内容的真伪。


不过,宏胜集团确实是娃哈哈的体外公司之一。娃哈哈的体外公司诞生于2000年后,也是当年和达能合资时的产物。据《第一财经》报道,宗庆后的自传中曾表示,由于娃哈哈体量迅速壮大,需要增加投资扩大产能,但遭到了达能董事会的拒绝或拖延,因此在合资公司体外成立了一系列体外公司,满足生产加工的需求。


沈萌认为,娃哈哈是国资相对控股,所以围绕娃哈哈注册私人主体做外围业务,存在利益输送和国有资产风险的质疑。


值得注意的是,2022年12月,沈阳娃哈哈荣泰食品有限公司新增了宗婕莉、宗继昌两位董事。企查查显示,今年6月-7月,宗继昌又上任了娃哈哈体系内4家公司的董事,分别为南京娃哈哈饮料有限公司、天津娃哈哈食品有限公司、大理娃哈哈饮料有限公司、双城娃哈哈乳品有限公司。而两个宗姓人士变更进入娃哈哈体系公司,也一度引起了外界的揣测。


打造500亿娃哈哈

宗庆后的“商业航母群”


娃哈哈的“灵魂人物”宗庆后个人曾取得过诸多社会荣誉,在个人财富上,他曾以100亿美元的净资产登上2012年福布斯中国富豪榜首富的席位,2015年又以103亿美元位列福布斯华人富豪榜第18名。2023年3月23日,宗庆后以1000亿元人民币财富位列《2023胡润全球富豪榜》第121位。


他一手打造的娃哈哈集团,在2021年~2023年总营收连续3年保持在500亿元以上,在全国29个省市自治区建有81个生产基地、187家子公司,拥有员工近3万人,企业规模和效益连续20年处于行业领先地位,位居中国企业500强、中国制造业500强、中国民营企业500强前列。


庞大的个人财富,让宗庆后名下的股权继承备受业内关注。


目前,娃哈哈集团大股东为杭州上城区文商旅投资控股集团有限公司,持有娃哈哈集团46%股份,宗庆后持有29.4%股份,杭州娃哈哈集团有限公司基层工会联合委员会(职工持股会)持有其余24.6%股份。


据天眼查数据显示,宗庆后持有14家公司的股权,除了娃哈哈集团,还持有浙江启力投资有限公司60%股权、杭州萧山宏盛食品有限公司60%股权,浙江真宗投资有限公司60%股权、杭州娃哈哈宏振投资有限公司100%股权等等。


图源:天眼查


此外,宗庆后的家族企业也不止娃哈哈一个集团系列,在娃哈哈集团之外,还有宏盛饮料集团、杭州宗诚集团、浙江真宗集团、杭州三和食品集团等等,分别由宗庆后之女宗馥莉、宗庆后弟弟宗泽后、宗庆后本人、宗庆后弟弟宗端后作为实控人。


据《中华人民共和国公司法》第七十五条规定,自然人股东死亡后,其合法继承人可以继承股东资格;但是,公司章程另有规定的除外。


而除了个人财富,宗庆后在作为人大代表期间,也曾多次为民生献言献策,他曾建议免征工薪阶层个人所得税,以抵消生活成本的增加;还提出建议,保障年轻人一个家庭一套经济适用房,解决基本需求。


宗庆后的这些建议,得到很多人的认同,被称为“替老百姓说话”的企业家。


宗庆后的两次“危机”


宗庆后生前曾遇到几次“危机”,比较知名的是“达娃之争”、劫匪行凶、“绿卡门”等风波,幸好最终都涉险过关。

其中发生在2013年的遇袭事件,最让人担忧。

浙江杭州公安部门公布的案件调查结果显示,当年9月,49岁的杨某因为找工作困难,在电视上看到宗庆后帮助农民工的访谈后,便到宗庆后的住处附近找到宗庆后希望为其安排工作。

但杨某最终未能如愿,于是持刀要挟行凶,导致宗庆后左手4根手指肌腱被砍断。

如果说遇袭事件是一次突发意外,那么“达娃之争”就是一场持久的民族品牌争夺战。

早在1996年,法国达能便与娃哈哈成立合资公司,达能在其中的股份比例最高时为51%,双方曾签署《商标转让协议》、《商标使用许可合同》,给予合资公司使用娃哈哈商标的权利,而达能则出资4500万美元及5000万元人民币的商标转让款。


图源:娃哈哈官方微博

与娃哈哈的合作,是达能扩张全球食品市场的战略步骤之一,2000年~2006年,达能还收购了乐百氏、梅林正广、光明、汇源等多家国内食品企业的股权。达能投资的这些公司,与娃哈哈属于同行,无疑会对娃哈哈形成竞争关系,从而在一定程度上限制娃哈哈的发展。

在这种背景下,娃哈哈非合资公司的业务就对宗庆后很重要了。在2006年,娃哈哈非合资公司的业务规模及丰厚利润引起了达能的关注,提出以40亿元并购娃哈哈非合资公司的51%股权,但遭到了宗庆后的拒绝。

于是,达能开始便以商标纠纷为由,在国内、国外对娃哈哈进行了旷日持久的诉讼,其中还牵扯了宗庆后及其家人是否加入美国国籍的争论,但最终被宗庆后予以澄清。

这场“达娃之争”从2006年开始,持续了3年,直到2009年才宣告和解。最终,娃哈哈以30亿元收购了达能在合资公司中51%的股份,保全了娃哈哈这一民族品牌。

外界有评论认为,“达娃之争”让娃哈哈对引入外资或上市融资保留警惕,所以娃哈哈至今也没有上市。

宗庆后在接受《新京报》采访时表示,这些说法并不准确,娃哈哈与达能的合作有愉快也有矛盾,在与外资的合作初期,国内企业确实无法做到和外资平等。娃哈哈并不排除未来和外资合作,但合作肯定是要建立在双方优势互补、平衡互利合作、促进企业和国家进步的前提下。

宗庆后虽然离世,但一手打造的“娃哈哈”品牌已经成长为食品饮料行业中极具知名度的民族品牌。在宗馥莉的带领下,国民品牌会如何焕发新的生机,让我们拭目以待。

关于宗馥莉回归的消息,你有何看法?欢迎评论区留言讨论!

点击展开剩下0%
打开汽车之家App 阅读体验更佳
本内容来自汽车之家创作者,不代表汽车之家的观点和立场。
举报/纠错
打开汽车之家App 查看全部评论
相关阅读
数据加载中...
发条有爱评论~
评论
点赞
收藏
分享
2026-04-20 02:13:48
2026/4/20 02:13:48