文章详情
去App查看

“华为税”席卷全国车企,上汽集团主动上交

近日有消息透露,上汽集团申请了大量的“尚界”商标,怀疑是与华为进行了深度合作,这是继赛力斯、北汽、奇瑞、江淮、长安、东风、比亚迪之后,第八个拜倒在华为“菊花标”下的车企。

有消息称,上汽与华为的合作早就开始,此前的 飞凡R7(图片 | 参数 | 询价)已经搭载华为视觉增强AR-HUD平视系统,上汽奥迪也将搭载华为智驾技术。

去年搁浅的飞凡RC7项目再次提上日程,而且目前已有40多位华为工作人员进驻上汽,不排除上汽旗下的飞凡汽车、智己汽车以及奥迪品牌均要搭载华为全套智驾方案。

一旦此事被坐实,绝对是双赢的局面。要知道目前的上汽集团无论是飞凡还是智己,过得都不顺心,几乎被新能源市场远远抛在后面。而上汽奥迪更是因为没有拿到好的资源,年销量几乎忽略不计。

可一旦这些品牌拿到了华为整套的智驾解决方案,哪怕是ADS2.0版本,都能盘活上汽所有的产品线。因为这些车本身都不差,缺少的就是一个核心竞争力。

根据上汽集团发布的数据显示,2024年上汽集团的终端交付量为463.9万辆。其中,合资品牌上汽大众和上汽通用的销量分别为约114万辆和67.3万辆。因此,扣除这两个合资品牌的销量,上汽集团自主品牌的销量约为282.6万辆。

但是,这282.6万辆的数据大部分来自荣威、MG、五菱,其中荣威销量大约为20万台,MG全球销量高达81.4万台,五菱销量为154万台。

被寄予厚望的飞凡汽车,2024年总共销量仅为5千多台,差点传出倒闭的谣言。智己汽车稍好一些,完成了6.6万辆的销售数据,而上汽奥迪则仅销售出4.3万台。也就是说这三大品牌加一起,年销量刚刚过11万台。

在这种局面下引入华为智驾系统,很可能会给这三大品牌销量带来质的飞跃。我们可以看到岚图梦想家自从引入了华为智驾系统,销量迅速翻番。因此不出意外的话,2025年飞凡汽车+智己汽车+上汽奥迪,年销量超过20万仅仅是最保守的估计。

当然上汽利用华为盘活市场的同时,华为汽车也会因此赚得盆满钵满。

按照华为与其它合作车企利润分成比例推算,上汽每卖出一台搭载华为智驾系统的车型,都要分给华为车价的10%作为技术授权费,没错不是利润的10%,是零售价的10%。也就是说无论你卖出这台车是赚是赔,华为都会从中获得10%的纯利润。

这并非无稽之谈,根据公开信息显示,华为与赛力斯的合作就是采用这种收益分成模式。具体而言,每售出一台问界M9,华为可获得约10%的分成,其中2%为技术授权费,8%为渠道营销费用。

相当于,每卖出一台售价46.98万的问界M9,都要分给华为至少4.6万元的分成,而2024年问界M9一共售出了15.8万台。问界M7卖出了19万台。

另外,华为与奇瑞合作推出的智界(Luxeed)品牌,采用了类似于华为与赛力斯合作的问界(AITO)品牌的商业模式。即华为从每台车中获得约10%的分成,以智界S7为例,假设其售价为30万元人民币,那么按照上述分成比例,华为每售出一台智界S7,可获得约3万元人民币的收益。而2024年智界总共卖出5.7万台车。

相同情况的还有北汽极狐、长安阿维塔等品牌,据不完全统计,2024年,仅鸿蒙智行联盟(HIMA)旗下各品牌车型总销量达到约444,956辆,而华为从中获利可能超过百亿千亿。

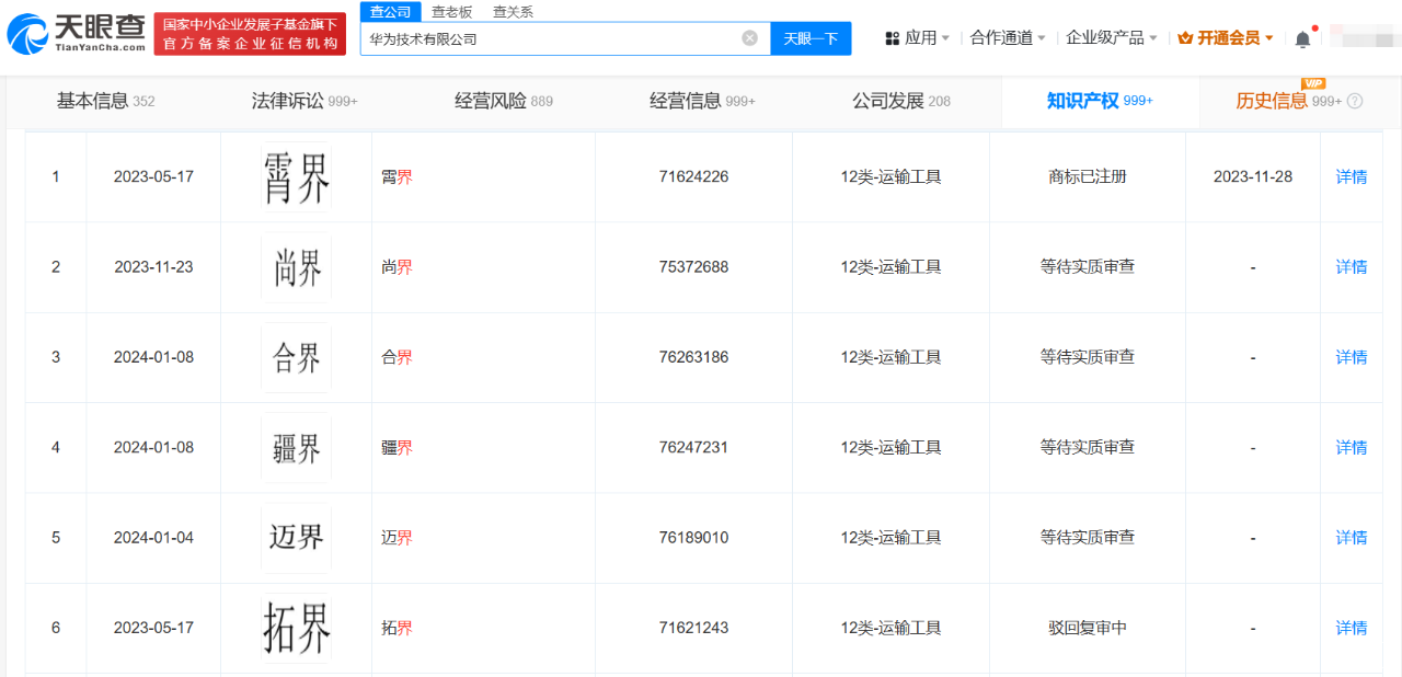
难怪华为不造车,华为只要在汽车圈“收税”就够了。从天眼查中可以看到,华为手里还有大量的“界”名等待车企认领。下一个缴纳华为税的车企又会是谁呢?

点击展开剩下0%
打开汽车之家App 阅读体验更佳
本内容来自汽车之家创作者,不代表汽车之家的观点和立场。
举报/纠错
打开汽车之家App 查看全部评论
精彩视频
相关阅读
数据加载中...
发条有爱评论~
评论
点赞
收藏
分享
2026-04-27 18:57:17
2026/4/27 18:57:16