文章详情
去App查看

特斯拉新型轮胎自动充气系统可延长轮胎寿命

据外媒报道,近日,特斯拉(Tesla)已经为其轮胎自动充气系统(automatic tire inflation system)设计提交了专利申请,该系统适用于特斯拉Semi电动卡车。很多军用车辆和重型机械都会采用轮胎自动充气系统(ATIS)以管理轮胎压力,并优化其在不同路面的驾驶。

据外媒报道,近日,特斯拉(Tesla)已经为其轮胎自动充气系统(automatic tire inflation system)设计提交了专利申请,该系统适用于特斯拉Semi电动卡车。很多军用车辆和重型机械都会采用轮胎自动充气系统(ATIS)以管理轮胎压力,并优化其在不同路面的驾驶。



在新专利申请中,特斯拉描述了现有系统的缺点:“先前的解决方案有很多缺点,现有技术中,空气会通过空心驱动轴输送至位于驱动轴端部的配件,然后配件与轮胎进气口耦合。为了将空气耦合至空心驱动轴,旋转配件会将空气存储器中的空气耦合至空心轴内部。该配件易泄露污染物,而污染物会干扰ATIS的运行,最终导致整个ATIS失效。”



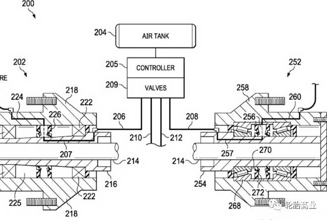
为克服上述缺点,特斯拉提出了一种更智能的包括阀门、轴承和旋转空气密封器的系统。新轮胎自动充气系统包括控制器、由控制器控制的阀门,有空气入口和多个空气出口的阀门,此外,还包括由内轴承和外轴承组成的至少一个驱动轴,主轴中的通道。首先,控制器控制的阀门连接主轴通道和轮毂通道,旋转空气密封器位于内轴承和外轴承中间,并且耦合主轴通道与轮毂通道,然后第二根空气软管将耦合轮毂通道到至少一个车轮上。



因而,与现有ATIS系统相比,特斯拉的ATIS显著减少了空气流中的污染,可延长ATIS的使用寿命,延长主轴寿命,延长轮毂寿命,延长维修车轮/轮胎寿命并延长维修间隔时间。


虽然特斯拉未在专利申请中指明该系统将用于汽车还是卡车,但是该系统的发明人John Furtado此前一直致力于研发特斯拉Semi电动卡车。


(责任编辑:Caite)



点击展开剩下0%
打开汽车之家App 阅读体验更佳
本内容来自汽车之家创作者,不代表汽车之家的观点和立场。
举报/纠错
打开汽车之家App 查看全部评论
相关阅读
数据加载中...
发条有爱评论~
评论
点赞
收藏
分享
2026-04-11 01:58:13
2026/4/11 01:58:13