文章详情
去App查看

2020汽车行业事件大盘点-特斯拉大战拼多多、皓影碰撞数据被盗...

2020年的汽车行业,如果用两个字形容,我会说是“动荡”,有人来有人走,有人活得好,有人处于濒死边缘,有人骗了钱就走,也有人在苦苦支撑。 今天,我就做一个讲故事的人,和大家一起聊聊,这一年中汽车界发生的行业事件,回顾过去~


今天是2020年12月15日,还有半个月,2020年就结束了。2020年是个不平静的一年,新型冠状肺炎的爆发,打乱了无数的事情。不过在国人众志成城的努力下,新冠疫情也慢慢得到了控制。虽然抗疫至今,我们还未胜利,但是我们的生活已经逐渐回归正常。

而在汽车行业,如果用两个字形容,我会说是“动荡”,有人来有人走,有人活得好,有人处于濒死边缘,有人骗了钱就走,也有人在苦苦支撑。

今天,我就做一个讲故事的人,和大家一起聊聊,这一年中汽车界发生的行业事件,回顾过去~

1月:

1.戈恩开个人发布会,控诉日产

2020年1月8日,前日产CEO 卡洛斯 · 戈恩(Carlos Ghosn)出现在了大众面前。而不久前戈恩上演了一出现实版的“越狱”,在日本检方严密的监视下,本应该在东京的他,出现在了家乡黎巴嫩。

对于日本检方的四项指控:瞒报收入、CEO 准备金支出、滥用公司资源在凡尔赛宫举办宴会、非法使用日产的钱购置房产,戈恩一概否认,

戈恩慷慨激昂地表示,自己是无辜的,一切都是日产和日本警方给他扣的锅。这位商业奇才控诉,自己曾经救日产于水火之中,而如今却被日产倒打一耙。甚至还气到出了本书,名叫《Time for the Truth》,讲述其亲身经历,该书国内目前还没出版,有兴趣的值友们可以先了解一下。

2.宝马2019年销量超奔驰奥迪,获高档车销冠

1月份笑得最开心的莫过于华晨宝马,2019年宝马在华共交付 723680 辆 BMW 和 MINI 汽车,实现 13.1% 的销量增幅。力压奔驰和奥迪,夺得中国高档车销量冠军,宝马的公关开心得到处发海报。

3.本田汽车2019年破销量记录


同样开心的不光宝马,还有本田,2019 年本田汽车在华终端销量创下了155万辆的历史最高记录,广本和东本的销量都纷纷上涨。

4.新冠肺炎来袭,汽车销量下降明显

新型冠状肺炎的来袭,许多车企还没来得及庆祝,就被打个措手不及。1月20日,疫情开始爆发。春节长假 + 肺炎疫情,国内汽车行业受到的影响巨大。

1 月全国汽车产销分别预计完成 178.3 万辆和 194.1 万辆,同比分别下降 24.6% 和 18.0%,而中国车市已经连续19个月销量下降了。

2020年的开年,中国进入了HARD模式。

2月:

1.奔驰发函请求复工


受到新型冠状肺炎影响,各大车企纷纷停工停产。2月6日,奔驰给天津市政府以及天津武清区发了一份函件,内容是请求特批其在天津武清的 19 家零配件供应商提前复工。函件内表示,停工一天就要损失 4 亿元!奔驰的这一行为,也遭到了不少人的抗议。

作为国内最赚钱的企业。确实,停工一天,损失绝对不小。但是小小值还是马后炮的说一句,损失再大,也没有员工的健康重要啊。

2.北京车展延迟开展


受到了新冠疫情的影响,作为国内的A级车展,北京车展也因为疫情原因宣布延期开展,打乱了不少车企的年度营销计划。而最后北京车展一直延期到9月26号开展。

3.海马汽车公布财报,靠卖房赚钱

2月份海马汽车发布了2019年的财报,它实现了8520万元净利润,结束了连续两年的大幅亏损。而它赚钱的方式不是买车,是卖房。2019年海马汽车分两批出售了旗下344套房产,共收款1.62亿元。不由得感叹一声,房地产是真的赚钱,对了顺便说一句,今年海马还是在卖房,一直没停下,不如改名叫海马地产算了。

4.合肥牵手蔚来汽车

蔚来汽车的融资终于有了着落,合肥政府出手,帮了蔚来一把!而合肥正是蔚来汽车的生产基地——江淮工厂所在地。2019年蔚来辗转多地与政府寻求合作,包括上海、北京、浙江湖州市,皆未果。兜兜转转回归了合肥的怀抱。据悉,这次合肥对蔚来项目计划融资 145 亿元,用于蔚来公司研发、市场体系建立和运营。同时,规划建设总部及研发基地(10 亿元)、第二生产基地(15 亿元)。

3月:

1.特斯拉“芯片门”

3月,数十位特斯拉车主发现,自己购买的国产特斯拉 Model 3 搭载的是 HW2.5 芯片,而非随车环保清单上标注的 HW3.0 芯片,为此提起维权诉讼。

随后,特斯拉官方给出回应,解释称是因为疫情影响供应链状况,导致一部分标准续航升级版 Model 3 安装的硬件为 HW2.5,都是怪疫情。

虽然特斯拉官方承诺为车主提供免费更换 HW3.0 芯片,但是没有尽到对车主的告知权,特斯拉难辞其咎。

2.疫情影响,各大车企降薪裁员

3月5日,随着疫情和汽车市场不景气的双重影响,不少车企开始纷纷降薪裁员,这其中就包括国内最大的车企,上汽乘用车集团。除此之外,还有奔驰、奥迪都被传出正在裁员减薪。

汽车界的至暗时刻已经来临,除了传统车企外,新造车势力的日子也一样不好过。

绿驰汽车被国资接盘,前途、博郡深陷欠薪漩涡,威马取消员工年终奖,长江负债累累。

3.丰田&比亚迪建立合资公司

3 月 25 日,丰田和比亚迪各出资 50% 的比亚迪丰田电动车科技有限公司正式成立,注册资本 3.45 亿元,总部位于深圳市坪山区。丰田和比亚迪两者强强联手,就是为了通过两者的优势结合,一起在新能源市场上发力。

4月:

1.2020年新能源汽车补贴方案出炉

4月还有一项针对新能源车的政策出台,四部委联合发布了《通知》,公布了 2020-2022 年新能源车补贴政策,其中规定,新能源乘用车补贴前售价须在 30 万元以下(含 30 万元)、300 公里工况续航行驶里程以上,但 " 换电模式 " 车辆不受此规定约束。

这份细则引起轩然大波的不是补贴退坡,而是设置了 30 万元限价:新能源乘用车补贴前售价须在 30 万元以下 ( 含 30 万元 ) 。

李想一语成谶。

2.小鹏P7上市,续航里程最高超700公里


4月底,当时被称为世界最长续航电动车的小鹏P7上市,8 款车型综合补贴后售价为 22.99-34.99 万元,其最高续航里程超过700公里(NEDC)。无论是小鹏的自身宣传还是媒体报道,P7 似乎都是冲着国产 Model 3 而来。

5月:

1.理想汽车被爆各种质量问题

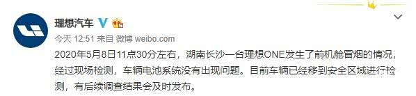
前面刚刚说到李想,5月份理想汽车又来抢头条。4月份,理想ONE实现超过2600辆的交付量,其CEO李想称“5月第一周(销量)同比又翻倍”。好不容易找回自信,5月8日,湖南长沙有一台理想one在路上自燃的视频被曝光,一时间引来无数网友围观讨论。

理想官方的速度倒是很快,立刻就给了回应,但是官方回应说是冒烟,而非自燃,又引来一场口水。祸不单行的是,就在自燃事件发生后,理想汽车又被爆出刹车失灵的事件。理想汽车官方再次发布公告,声称是零件偶发性失灵导致的。

不过理想one遇到的质量问题还不光这些,在今年11月份,理想被爆出断轴事件。

10月15日,一则车辆左前轮断轴视频在网上流传,涉事车辆为一辆理想蓝色one,从视频中看出,该车已经处于事故撞击后的静止状态,车辆左前轮几乎脱落。

事后理想官方立刻表态,表示这是一台测试车辆,在测试过程中发生了事故。但是根据调查,截至今年10月,理想ONE共发生了97起前悬架碰撞事故,其中有10起发生了前悬架摆臂球头从球销脱出,而理想汽车CEO李想也在媒体面前承认过车辆确实有设计缺陷。

11月6日,重庆理想汽车有限公司根据《缺陷汽车产品召回管理条例》和《缺陷汽车产品召回管理条例实施办法》的要求,向国家市场监督管理总局备案了召回计划。

但争议的是,理想汽车在车辆召回前,发布了一个升级信息,把“召回”美化为“升级”,引起众多人的不满。

2.上海五五购车节,凯迪拉克闹乌龙

5月初,上海商业委为了刺激消费,准备在五一期间举办55购物节,联合众多商场品牌一起促销搞活动,这其中就包括汽车行业。拼多多和百联集团响应号召推出了5.5折买新车的活动,其中就包含凯迪拉克XT5。

结果凯迪拉克市场营销部冯旦说这是翻新车,让大家注意!后期凯迪拉克官方还发布消息,这批车辆不提供质保,其为不明渠道车辆。

拼多多一看事大了,立刻表示车辆都是新车,绝对不是翻新。而后凯迪拉克又发公告,表示车辆渠道正常,可以享受质保,消费者可以正常购买。

这个55购车节活动,凯迪拉克市场部竟然事前一点都不知晓,可见凯迪拉克品牌内部的沟通存在问题,才闹出这样一出乌龙。

3.零跑车主控诉零跑质量极差

5月11日,200多位零跑S01的车主联合起来,用一封《零跑S01-380、380PRO首批车主致零跑汽车的公开信》,控诉零跑的十大罪状。

1.制动系统故障,真空助力泵失灵;

2.动力系统故障,电池过热保护;

3.车机系统故障,主控屏幕黑屏;

4.控制系统故障,车辆无故停摆;

5.空调设计失败,车主苦不堪言;

6.摄像系统故障,智能驾驶成疑;

7.指静脉识别率低,功能华而不实;

8.自动泊车难实现,技术实力堪忧;

9.OTA升级缓慢,升级后故障百出;

10.车身抖动异常,高速体验极差。

一台车能被车主细数出十个大问题,可见零跑S01有多粗制滥造。另外,零跑S01还被爆出续航里程涉嫌虚假宣传等问题。只能说一句,这个牌子,谁还敢碰。

6月:

1.皓影碰撞数据被盗,中保研沉寂半年

6月上来的第一大瓜,就是中保研的皓影碰撞事件。6月上旬,中保研官方发布了关于广汽本田皓影的碰撞视频,从视频内容看,皓影的碰撞结果似乎并不理想。

结果中保研官网显示皓影的各方面成绩表现都比较良好。6月20号,中保研的骚操作来了,一纸声明发布,称中保研及中国保险汽车安全指数官方网站至今未以任何形式发布本田皓影测试结果,官网上皓影的碰撞成绩被下架。

原因是该成绩被黑客盗取,择日会重新公布皓影的碰撞成绩。至此中保研沉寂近半年。直到今年12月,中保研再次发布皓影的碰撞成绩,还连着新款帕萨特的碰撞成绩。这次皓影和帕萨特都拿到了一个好成绩,再次引发争议。

2.地摊经济走红,五菱推出地摊车

受新冠疫情影响,不少商铺商贩也闭门歇业,经济受到冲击,而“地摊经济”一夜爆红。多地政府出台政策扶持、多家互联网巨头也发布“地摊经济”帮扶计划。瞬间网络上一片叫好,曾经的人间烟火气回来了。而五菱为了满足了人民的需求!做了一台又能拉货,又能一键卖货的车,它就是五菱荣光翼。

这台车发布之后,五菱股票暴涨,还是那句话,老百姓需要什么,五菱就造什么。

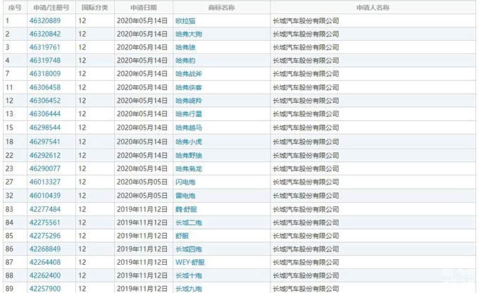
3.哈弗新车叫大狗,长城准备要开“动物园”

都说,取名字是个技术活,取得好大家容易记。长城汽车官方宣布,哈弗品牌全新SUV命名为“哈弗大狗”。哈弗大狗将作为全新系列推向市场,由于“哈弗大狗”名字较为另类,因此在网上也引起巨大反响。

实际上,从长城炮开始,长城汽车就已经在取名这事情上开始越走越远了。长城汽车股份有限公司已申请注册了多个车型名称的商标,包括多个以“动物”名称为主的车型商标。除此之外,长城汽车还申请注册了“哈弗狼”、“哈弗豹”、“哈弗崎羚”、“哈弗越马”、“哈弗小虎”、“哈弗野狼”、“哈弗枭龙”等车型命名商标。

这还没完,除了哈弗外,还有欧拉品牌也开启动物园命名方法,什么欧拉好猫,白猫等等,看来动物命名法,长城还会用很久。

7月:

1.贾老板终于破产,下周能回国吗?

下周回国贾老板,终于破产了。7月2日,贾跃亭在个人双微发布一封题为《打工创业、重启人生,带着我的致歉、感恩和承诺》的公开信。信的内容太长,这里就不放了,不过有兴趣读了信的朋友们,应该都能感觉到,贾老板应该是钱不够了,还想来割韭菜。

2.比亚迪股票大涨,市值成国内一哥

7月10日,比亚迪股价收盘价89元,市值达到2430亿元,总市值首次超越上汽,成为国内上市车企“市值一哥”。7月13日,比亚迪首板涨停,公司市值一天涨出一个北汽蓝谷,总市值达到2671亿元,比上汽集团(2248亿元)还高出400多亿元,完完全全称为国内汽车企业的大哥。

资本市场对比亚迪的看好,不光因为比亚迪自身的技术储备,更重要的是对新能源市场的看好。到发稿前,我看了眼比亚迪的股票,讲真,后悔没有早点买。

3.上汽工厂改造,为国产奥迪A7L铺路

7月17日,根据路透社公布的消息,大众集团及其中国合作伙伴上汽集团计划投资41.3亿元人民币(合5.9亿美元),对上海的工厂进行改造,以生产新的奥迪A7L轿车。据了解,通过这次对上海工厂的改造,上汽大众将在保持总产能不变的情况下,使其成为一个年产6万辆奥迪A7L和6万辆大众新款SUV的工厂,此次改造预计于2020年底完成。

另外国产奥迪A7L的谍照也已经在网上爆出,只不过这加长后的奥迪A7L已经没有了那大溜背,总感觉没内味了。

4.五菱宏光Mini EV上市

7月24日,五菱宏光MINI EV正式上市,新车共推出3款不同配置版本,售价区间为2.88-3.88万元。这台小电动车,上市便成爆款,今年11月,其销量更是达到了33094辆,成为国内最畅销的新能源车款。

5.理想汽车登陆美股上市

7月30日,理想汽车(NASDAQ:LI)正式登陆美股,股价当日开盘立刻上涨35%至15.5美元,并一度冲高至17.5美元。当日收盘,报收16.46美元/股,较发行价上涨43%。理想汽车当前市值达到139.2亿美元,超过两年前登陆美股的蔚来汽车(NYSE:NIO)。7月30日蔚来股价收于12.2美元,市值135.7亿美元。

同样是登陆美股,一上来就市值超越2年前的蔚来。其实小小值并不是觉得理想的市值就比蔚来强,而是华尔街的资本更看好国内的新能源市场。

8月:

1.小鹏汽车登陆美股

8月初,小鹏汽车迎来喜讯,小鹏突然又宣布获得3亿美元融资。这次融资属于C++轮融资,由阿里巴巴领投,卡塔尔主权基金(QIA)等也参与投资。对于新能源造车企业来说,最害怕的就是钱不够,这次融资无疑为小鹏注入了针强心剂。

拿了融资还没完,小鹏也紧随理想的步伐,走入了美股的大门。8月28日,小鹏汽车正式登陆纽交所,开盘价23.1美元,较发行价上涨56%。截至收盘,小鹏汽车股价报收21.22美元,较发行价大涨41.47%,市值达150亿美元。

2.恒驰汽车发布六款车

8月3日,恒大汽车在上海、广州同时举行发布会,六款新车正式发布亮相,分别是恒驰1/2/3/4/5/6,此次亮相的六款车型,覆盖了从A到D所有级别车型,包括轿车、轿跑、SUV、MPV、跨界车等乘用车细分车型。一口气发布六台车,但是有一说一,恒大的这场发布会真的充满“土”豪气质。

但是,就在11月份,恒大却被发改委点名。11月25日,国家发改委下发《关于开展新能源汽车整车生产及项目情况调查的通知》,要求各省、自治区、直辖市发改委需在11月18日前将各地区新能源汽车投资情况上报至发改委产业司。

《通知》还要求各地详细报告恒大、宝能等企业2017年以来在当地投资以及拟投资建设的新能源整车和零部件项目,包含土地占用、建设内容、项目进展、完成投资等情况。

《通知》曝光后,恒大汽车股价应声下跌,11月25日跌幅5.2%,11月26日跌幅3.07%。

不过或许是为了回应这份通知,恒大汽车在12月份先后曝光了恒驰的路跑视频和内饰照片。而恒大汽车股票直线拉升涨超7%,市值达2300亿港元。

但是从恒大曝光的照片中,有眼尖的媒体发现,恒驰01的轮胎内外是装反的。

3.特斯拉大战拼多多,拒绝交付拼多多用户车辆

8月中旬又爆出一个大瓜,特斯拉拒绝向拼多多用户交付车辆引起争议。


在7月20日,拼多多出现了一个团购Model 3的活动页面,上面写着拼多多联合宜买车搞了一个“万人团购”特斯拉Model 3的活动。原价需要291800元的特斯拉Model 3标准续航后驱版,只需要251800元就可以买到,便宜了整整4万元,这里面还包含2万元的新能源购车补贴。而此次特斯拉拒绝交付的就是拼多多的这台团购活动车辆。

这件事情实际上讲白了,就是拼多多花钱补贴消费者购买特斯拉Model 3,但是这样的做法伤害了特斯拉一直以来守护的直销方式,所以特斯拉不愿交付车辆,这才引起了一系列争议。

4.蔚来发布BAAS电池租用服务

8月20日,蔚来“电池租用服务(BaaS,Battery as a Service)”正式发布,采用BaaS购买蔚来,车价减7万,每月电池租用服务费980元起。BaaS服务即车电分离、电池租用、可充可换可升级;购车时不需购买电池包,机动车销售发票价格中不含电池包价格,用户的金融贷款首付和每月还款额也以去掉电池包的价格计算。车主可根据自身实际使用需求,选择租用不同容量的电池包,按月支付电池租用服务费用。

9月:

1.特斯拉股价大跌,影响资本信心

9月初,做空特斯拉的大空头肯定开心得要飞起来了,特斯拉股票终于跌了!9月2日,特斯拉股价延续了前一个交易日的下跌趋势,跌幅高达15%,创五个多月内最大跌幅。在下午的交易中,特斯拉的股价下降了6.8%,为442.8美元。

其实特斯拉股票会下跌,主要因为两点,9月1日特斯拉表示计划发行50亿美元新股进行再融资,给人感觉是要割韭菜了;还有就是特斯拉第二大股东Baillie Gifford进行了套现减持,持股比例从2月7.67%下降至8月末持股4.25%,这一行为引起了投资人的恐慌。

而这一波影响持续了整整两个月,一直到11月份开始,特斯拉的股票又开始向上冲,如今已经达到了639.83美元了。

9月对于特斯拉而言,还有个非常重要的事情,就是特斯拉电池日。特斯拉发布了五个方面的新技术,包括电芯设计; 电芯工厂; 负极材料; 正极材料; 电芯-车辆整合,一起亮相的还有PLAID Model S。

2.车辆保险改革

2020 年 9 月 19 日,又有一项和车主息息相关的保险政策出台,就是新版汽车保险政策。新政中交强险总保额从12.2万提升至20万,同时新加区域浮动因子。

而商业险部分,优化车损险的责任范围,三责险提高,并且新增了附加险。

10月:

1.特斯拉取消信心保障计划

2020年10月17日,特斯拉官网问题解答页面显示,公司的信心保障计划已于2020年10月16日终止执行并下线,在此之后的购车订单均不再享受该计划的保障。

而该计划终止与特斯拉不断降价的策略有关,就在该政策取消前不久,特斯拉又迎来一轮降价,引发不少刚买车的消费者使用信心保障计划来退车。从这次取消来看,特斯拉也没那么有信心了。

2.威马汽车自燃事件

10月27日,位于北京市西北四环的一辆威马EX5发生起火爆炸。而在这起事故之前,威马已经发生了多起自燃事故。


不久之后,威马汽车宣布即日起向用户主动召回2020年6月8日至2020年9月23日生产的总计1282台威马汽车,并将为召回车辆免费更换其他电芯品牌的动力电池包。

11月:

1.丰田引进高性能GR品牌

11月初,丰田表示,GR品牌将会正式引入国内!“GR”是“GAZOO Racing”的缩写,这两个字母代表着丰田旗下的高性能运动品牌。

目前已经确定的是,SUPRA GR将会正式引进,同时还有消息称丰田的雅力士GR也会引入国内。

2.大众汽车公布纯电动车ID.4

11月3日,大众汽车酝酿已久的纯电动车型,大众ID4正式亮相,分别被一汽-大众和上汽大众国产。其中,一汽-大众版本车型名为:ID.4 CROZZ,而上汽大众版本名为:ID.4 X。两个不同的版本也仅仅是在外观设计,配置上有很小的区别。两车补贴后价格不会超过25万元,同时两车均会在2021年初正式上市及交付。

不过,这台车在后期的亮相中,大家发现它的后刹车还是采用的鼓式刹车。虽然大众表示,鼓式刹车已经够用了。但是在一台25万元级别的车型上用鼓式刹车,还是引起了争议。

3.滴滴定制车D1亮相

11月16日,滴滴出行举办“滴滴开放日”,正式发布全球首款定制网约车D1。该车由滴滴联合比亚迪共同设计开发,专为网约出行服务设计制作。它的出现将会大大提升网约车的使用体验。相信它的出现,最害怕的应该是出租车公司。

4.上汽高端电动车品牌亮相


11月26日,上汽集团,浦东新区和阿里巴巴三巨头联手打造而来高端电动汽车品牌,智已汽车正式成立,智己汽车也就是上汽集团透漏的“L项目”。

12月:

1.新造车势力三强,股市大跌



来到最后一个收官月,12月1日,新能源三强,蔚来、小鹏、理想一上来就经历股价跳水,蔚来、小鹏、理想的股价分别大幅下滑10.23%、10.89%、3.14%。

这还没完,12月三日,这三家跌幅再次达到了跌幅分别达到5.48%、7.46%、7.02%。

短短几天,市值蒸发了2184亿元。这三家车企的股票会一起出现这样的跌幅,这其中或许会有空头们的功劳。但是从另一方面看,也是资本开始趋于冷静,重新开始审视中国的新能源市场。

2.江淮大众改名大众(安徽)汽车有限公司

股市有涨有跌,前不久江淮的股票就涨得厉害,原因很简单,江淮大众以后就改名叫大众了。

12 月 2 日,江淮汽车发布了《关于江淮大众合资合作事项的进展暨工商登记变更、交割完成的公告》,其中,江淮大众汽车有限公司更名为 " 大众汽车(安徽)有限公司 "。随后,12 月 3 日江淮汽车 ( 600418.SH ) 开盘 1 小时便涨停,每股报价 10.65 元。

12 月 8 日,江淮汽车开盘后再次迅速涨停,每股价格为 10.99 元,其后市值一度突破 220 亿元。这一次是因为大众汽车(安徽)有限公司揭牌暨研发中心竣工和制造基地开工仪式在安徽合肥举办。

3.大众汽车遭遇芯片短缺


由于芯片短缺危机不断发酵,有媒体援引 " 上汽大众生产负责人 " 的话表示,上汽大众从 12 月 4 日被迫停产,同时,一汽大众也从 12 月初开始进入停产状态。

不过后面大众很快就发布声明,大众每年的采购量都是定好计划的,不会因为库存突然出问题而导致停产。

结语:

2020年还有半个月就会结束,虽然这一年快结束。但是许多故事才刚刚开始,2021年还将会是一个更加变革的一年,传统车企纷纷在新能源市场发力,新老势力的战斗会更加激烈。

这是汽车小小值2020年,年终盘点的第一期,接下来我们还会推出更多的盘点,包含破产品牌,价格跳水车的相关内容,还请大家多多关注!

点击展开剩下0%
打开汽车之家App 阅读体验更佳
本内容来自汽车之家创作者,不代表汽车之家的观点和立场。
举报/纠错
打开汽车之家App 查看全部评论
精彩视频
相关阅读
数据加载中...
发条有爱评论~
评论
点赞
收藏
分享
2026-01-28 04:43:35
2026/1/28 04:43:35