开了30万公里的车是啥样?这辆斯巴鲁力狮狠狠砸了日系车的招牌

检车家·老司机
2021-04-10

嗨,大家好检车家老司机又和大家见面了,欢迎收看本期的二手车检测趣事,我是一个无所不能,火眼金睛的大拿,不仅仅是一枚修过车的二手车检测技师,更是一枚事故车劝阻师,帮助客户解决一切困难是我的价值所在~

这次给大家带来一台 斯巴鲁力狮的检测分享,大拿刚接到任务的时候小小的困惑了一下,大拿的驻点城市在北方,斯巴鲁的车基本没什么人买,偶尔在路上看到一两台都是SUV,森林人或者傲虎,BRZ都很少见,力狮就别说了,几乎遁形了。其实就大拿的认知来说,斯巴鲁也是一个技术宅男,靠STI在WRC赛事中打出名堂,然后全系采用水平对置发动机和全时四驱,操控性不输马自达,但是在外观内饰这些人们看得到的地方做的并不好。

现在人们买车无非是看颜值看配置看空间看牌子,斯巴鲁可以说一样都不沾,优点藏在里面,外貌装扮不到位,全系进口车价格又贵,销量不好也就能理解了。买二手斯巴鲁的就更少了,尤其在北方。在北方买斯巴鲁的,要么是懂车的老司机,要么是在北方生活的南方人,今天的客户属于后者,从他蹩脚的普通话口音能听出来。

客户说本来没打算请我们来检测,他是跟老板商讨价格的时候,老板坚持说车况好少不了多少钱,客户觉得老板诚意不足,06年的车,车况能好到哪里去呢?随即就想到了找我们来检测一下,用二手车检测师的专业来打击一下老板。大拿明白客户的意思,不过我们是第三方检测机构,我们的使命不是打击谁谁,还是得实事求是,有问题就指出来,没问题不能胡乱编造,这一点得跟客户讲清楚。

来看今天的主角,一辆06款的力狮,十五个年头的车,愿意花4万多买它的多半是玩家,客户不会在乎值不值的问题,这样的客户大拿也见多了,很好打交道,不必多啰嗦,把车看好就对了,搬砖走起。

车型年款:力狮 2006款 2.0R

出厂时间:2006-10

表显里程:150922KM

指导价格:24.98万

车行报价:4.68万

检测地点:河北唐山

绕车一圈,发现这车只可远观不能近距离研究,一走近看就太多小瑕疵了,老车大都是这样吧!喷漆是少不了的,顺着大拿的手指,前保险杠跟机盖的缝隙处,这后喷漆产生的垃圾点不要太明显,难道就因为它是一台十五年的老车就这么敷衍了?

话说回来,老车的外观塑料件就不用在意好坏了,刮刮蹭蹭早就不是本来的面目了。还是来看金属面的情况,大拿用肉眼判断机盖不是原厂漆,掏出漆膜仪看一下有没有钣金,还好只是喷漆。

二十来分钟测完外观漆面,全车后做漆的地方不少,不过都是小擦伤引起的小修小补,钣金修复都很少,只有左前翼子板一处。不论从年份还是公里数上来说,这样的开车技术已经够好了。

对照了生产代码,前挡风玻璃的制造日期是2011年3月,晚于车辆总装出厂时间,看来是后更换的了。可能是高速上石子崩的,也可能事故引起的,具体什么原因呢?让我们来看下发动机舱能不能给出答案。

打开机盖后,大概看一下发动机舱还是比较规整的,整个动力系统没有大的改装,只是有一个低音炮的加装线路,看来原车主也是个音乐发烧友。揭掉发动机罩盖,欣赏一下斯巴鲁的水平对置发动机,占据横向空间比较大,不过重心更低,这台发动机是2.0L排量的,最大马力150匹,最大扭矩196牛米,匹配4挡自动变速箱。这个动力大拿就不加评判了,毕竟这么多年了,现在就主要看它的工况怎么样,能不能继续爆发能量。

从发动机舱开始,大拿就要和各个部件的固定螺丝较劲了,看螺丝有没有拆卸,有没有拧动,有没有掉漆以及磨损,有没有给螺丝后喷漆,这都是判断零部件是否损坏更换的主要参考,当然需要结合部件的成色、日期来综合判定,而螺丝是关键。因为成色是可以做旧的,日期也可以重新粘贴,但螺丝是很难做假的。这台力狮的机盖螺丝很完整,没有拆卸拧动过的特征,只是有了一些岁月的痕迹,所以机盖是原厂的,没有拆下来维修或者更换。

继续往下看,两侧翼子板固定螺丝原封未动,内侧加强梁漆面平顺自然,无二次喷漆褶皱敲打痕迹,所以车头两侧的事故碰撞基本可以排除。

来到大灯的位置,发现两个大灯有过改装,日系车大灯普遍没有制造日期,这就要凭借经验来判断了。不巧的是左前大灯灯爪折了一个,焊接打胶修复的痕迹非常明显,而且大灯也存在分解拆卸的现象,这可不是改装能解释得通的,看来左前还是有点儿故事。

前方的冷却系统拆了一个遍,水箱框架、水箱、冷凝器、冷却风扇及其它附件的螺丝都有拆卸拧动。嗯?老车拆这些还是比较常见的,平时维修空调或者水箱漏水都有可能,大拿就怕是左前事故造成的维修,或者抬了发动机,水平对置的发动机虽然优点不少,但也不是没有缺点,比如发动机占的空间大,修发动机的时候就会拆很多零部件下来,工时费就要高很多。

先看一下前防撞梁和两个纵梁,纵梁也就是大拿经常提到的四梁六柱中的其中之一,汽车框架结构中的主要部分,在纵梁前方固定的是前防撞横梁,它们组成一圈框架,把发动机舱保护起来,如果车辆发生了严重事故,前防撞梁和纵梁必然会有损伤。这台力狮的前防撞没有变形拆卸,纵梁也没有损伤修复,从侧面看上去很平整,保持了原厂状态,那么冷却系统的拆卸我们就可以排除左前事故的原因。

再来看发动机,气门室盖漏油有点厉害,都把螺丝糊上了,看不出来螺丝有没有动过;发动机机爪螺丝拆过了,机爪的作用是把发动机固定在车架上,防止抖动松旷,吊装发动机是必须要拆机爪的;再看进气歧管和排气歧管也都拆了,顿时有了一种不祥之感。

发电机也拆了,又增加一个线索,看来发动机吊装的概率很大呀!但是目前还不能下结论,还得再看看底盘的连接件。

油水这块,机油、刹车油的状态还行,电瓶也还可以用,只是防冻液只能维持零下10度的水平了,还好现在是春夏季节,如果到了北方的冬天就有点儿悬了,建议及早更换。

下面检测内饰。打开车门,这内饰新到不行啊!大拿我在想,除非以前的座椅磨损的就剩个架子了才会选择翻新,但是15万公里还不至于到那种程度呀,所以首先对这个公里数产生了疑问。

车门饰板拉手位置都磨的掉漆了,安全带是原厂的,不过已经从原本的灰白色变成了灰黑色,刹车踏板踩出了一个三角形的痕迹,还有空调出风口破损,这种使用程度,跑了30万公里不止吧!

内饰一个主要检测项目就是查看有无泡水,那么就要从底部看起,大拿拿起手电筒一顿照耀,方向管柱、前排座椅骨架有生锈,哎呀!不会中招吧?不过看了地毯下部,后备箱底部,还有点烟器,安全带卡扣,仪表台这些位置,都没有生锈和残留泥沙的情况,也就排除了泡水的嫌疑。座椅骨架的生锈应该是时间长了反锈现象,并不是那种浸水产生的锈蚀。另外座椅螺丝有过拆卸,翻新座椅拆的,问题不大。

随后大拿又检查了车辆的功能按键以及原地的启动测试,发现变速箱换挡有闯动现象,可能是与机脚垫有关系吧,需要后期去处理一下。

静态检测下来,车辆还是有不少问题,接下来就是动态路试检测。这个年限的车,就不吹它的操控和行驶质感了,说一下存在的问题,开起来各种异响,深踩油门加速的时候发动机异响,转弯打方向的时候异响,颠簸路段的时候底盘异响,内饰异响,如果音乐大师莫扎特在我旁边,相信他会把这些异响组合成美妙的节奏。对了,还有方向向左跑偏的问题。

要搞清楚底盘为什么异响,就得把车子举起来。发动机下面没有护板,这次不用大拿单手几十年的手速去拆护板了,但是感觉情况有点不太好,锈迹斑斑的底盘,不知经受了怎样的摧残。

这个年限的车,各个悬挂支臂胶套开裂、方向机球头破损,全车底盘橡胶件基本已经老化的不行了,所以说路试的时候,才会出现异响,这个需要后期进行更换,但是更换的费用也是不少的。

四轮减震器均存在渗油的现象,因为车辆的悬挂是经常会用到的,过滤颠簸都靠它,使用时间长了的话几乎都会出现渗油现象,在意舒适性的话建议全部换新的。

来到发动机部分,发现半轴防尘套已经开裂了,里面的润滑脂已经被甩的差不多了,看现在的状态估计开裂的时间已经不短了,发动机变速箱结合处位置也有油渗了出来。发动机油底壳附近一大片油污,漏油惨不忍睹啊!而且油底壳螺丝分明拆过了,让大拿对发动机吊装维修又增添了信心。

遗憾的是,几个关键位置的固定螺丝严重生锈,根本看不出来有没有拧动拆卸,前副车架螺丝,发动机变速箱连接螺丝,还有曲轴螺丝莫不如此。缺少这几个有力的证据,就不能完成发动机吊装维修的线索链闭环,也就是说,发动机吊装维修有很大的嫌疑,但不能百分之百确认,所以大拿最终不能够下这个结论。

后差速器漏油也比较厉害,底盘到处渗漏,完全不像一台日系车啊!

两个前轮刹车盘已经更换,刹车片磨损严重;后轮相反,刹车盘磨损严重,刹车片更换。如若购买的话,还是建议进行维护更换,安全行驶无小事。

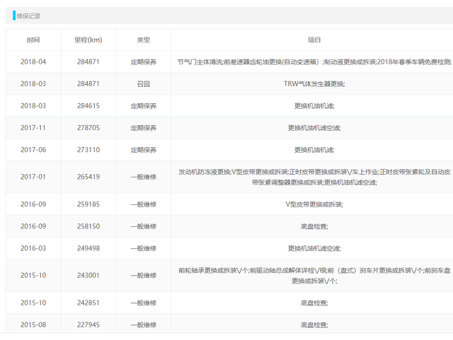
最后看一下这台力狮的4S店维保记录,记录还是相对比较齐全的,从06年年底首保一直延续到了2018年4月份,记录里没有大的事故维修资料,但是公里数却明显有问题了。最后一次进店就已经28万公里了,如今又过了三年时间,里程表却显示只有15万公里,大拿保守估计真实里程30万公里不过分吧!对半调,还真是行业惯例。

到了给客户汇报车况的时间,大拿用三分钟时间总结了一下:左前小碰撞;发动机疑似吊装大修,工况欠佳;内饰使用磨损大,公里数调表;底盘橡胶部件老化,多处漏油;整体车况比较差,如果满分10分的话,大拿可能只给得到3分,而且后期需要整备维护的项目比较多,斯巴鲁又全都是进口件,全部算下来打底2万块呀!现在二手车报价才多少?4万?不说了,俺想静静!

客户听了大拿的汇报,瞪大了两只眼睛:这也太差了吧!30万公里?还买个屁呀!原本是想打击老板,让他给我便宜一些,现在倒好,成功把我劝退了!走了走了,伤心了!大拿劝慰道:再找找吧,挑二手车就得多花点时间,老车就更得有耐心,多少都会有问题,要享受它的快乐就得忍受它的毛病。

虽然力狮小众,销量也不好,但日系车保值的传统继承的非常好。目前同年份的二手车价格都在4万以上,跟凯美瑞是一个层级的。十五年的普通家用车,谁会用4万来填坑呢?用网友的话说:有些东西的存在只是证明有价无市这个词语的含义。大拿觉得甚有道理,情怀落地是需要经济实力的,玩情怀只属于那些不在乎养护成本的有钱人。

好了,今天的检测分享就到这了,我是检车家的一名二手车检测技师。喜欢就赞、不喜欢就喷。我修车多、读书少,写的不好,请大家多担待。检车家,愿做你最懂车的朋友!