混动汽车工作原理知识详解,读这一篇就够了!

联祥自动变速箱维修 2018-07-17 10:26:45 显示图片

混动汽车工作原理知识详解,读这一篇就够了!



如今,消费者买车的选择是越来越多了,从原来的轿车、两厢车、SUV和MPV的车型选择,到现在自然吸气、涡轮增压和新能源的动力选择。而混动车型被视为人类找到可替代新能源以前,解决传统汽车节能减排问题最有效的手段。

那么混合动力汽车是什么呢?

根据国际能源组织(IEA) 的有关文献, “能量与功率传送路线” 具有如下特点的车辆称为混合动力汽车:

1) 传送到车轮推进车辆运动的能量, 至少来自两种不同的能量转换装置(例如: 内燃机、燃气涡轮、斯特林发动机、电机、液压马达和燃料电池等)。

2) 这些能量转换装置至少要从两种不同的能量储存装置(例如: 燃油箱、蓄电池、飞轮、超级电容和高压储氢罐等) 吸取能量。

3) 从储能装置流向车轮的这些通道, 至少有一条是可逆的。

如果可逆的储能装置供应的是电能时, 则称作混合动力电动汽车。

知道混合动力汽车的定义了,那又如何分类呢?

1. 按照动力系统划分

(1) 串联式混合动力电动汽车(Series Hybrid Vehicle) 车辆行驶系统的驱动力只来源于电机。

串联式混合动力电动汽车的结构特点是发动机带动发电机发电, 电能通过电机控制器输送给电机, 由电机驱动车辆行驶。另外, 动力蓄电池可以单独向电机提供电能驱动车辆行驶。

(2) 并联式混合动力电动汽车(Parallel Hybrid Electric Vehicle)车辆行驶系统的驱动力由电机及发动机同时或单独供给。

并联式混合动力电动汽车的结构特点是并联式驱动系统可以单独使用发动机或电机作为动力源, 也可以同时使用电机和发动机作为动力源驱动车辆行驶。

(3) 混联式混合动力电动汽车(Combined Hybrid Electric Vehicle) 具备串联式和并联式两种混合动力系统。

混联式混合动力电动汽车的结构特点是可以在串联混合模式下工作, 也可以在并联混合模式下工作, 同时兼顾了串联式和并联式混合动力电动汽车的特点。

2. 按照混合度划分

(1) 微混合型混合动力电动汽车(Micro Hybrid Electric Vehicle)以发动机为主要动力源, 电机作为辅助动力, 具备制动能量回收功能的混合动力电动汽车。电机的峰值功率和总功率的比值小于10%。仅具有怠速停机功能的汽车也可称为微混合型混合动力电动汽车。

(2) 轻度混合型混合动力电动汽车(Mild Hybrid Electric Vehicle) 以发动机为主要动力源, 电机作为辅助动力, 在车辆加速和爬坡时, 电机可向车辆行驶系统提供辅助驱动力矩。一般情况下, 电机的峰值功率和总功率的比值大于10%。

(3) 重度混合(强混合) 型混合动力电动汽车(Full Hybrid Electric Vehicle) 以发动机和/ 或电机为动力源(一般情况下, 电机的峰值功率和总功率的比值大于30%) 且电机可以独立驱动车辆正常行驶。

3. 按照外接充电能力划分

(1) 外接充电型混合动力电动汽车(Off-vehicle Chargeable HybridElectricVehicle) 在正常使用情况下可从非车载装置中获取电能量。仅当制造厂在其提供的使用说明书中或者以其他明确的方式推荐或要求进行车外充电时, 混合动力汽车方可认为是“外接充电型” 的。仅用作不定期的储能装置电量调节或维护目的而非用作常规的车外能最补充, 即使有车外充电能力, 也不认为是“外接充电型”的车辆。

插电式(Plug—in) 混合动力电动汽车属于此类型。

(2) 非外接充电型混合动力电动汽车( Non Off-vehicle Chargeable Hybrid ElectricVehicle) 在正常使用情况下从车载燃料中获取全部能量。

4. 按照行驶模式的选择方式划分

(1) 有手动选择功能的混合动力电动汽车(Hybrid Electric Vehicle with Selective Switch)具备行驶模式手动选择功能。车辆可选择的行驶模式包括发动机模式、纯电动模式和混合动力模式三种。

(2) 无手动选择功能的混合动力电动汽车( Hybrid Electric Vehiclewithout Selective Switch) 不具备行驶模式手动选择功能。车辆的行驶模式根据不同工况自动切换。

5. 其他划分形式

(1) 按照可再充电能量储存系统不同可以划分为(但不限于) 以下类型。

① 动力蓄电池混合动力电动汽车(Traction Battery Hybrid Electric Vehicle)。

② 超级电容器混合动力电动汽车(Super Capacitor Hybrid Electric Vehicle)。

③ 机电飞轮混合动力电动汽车(Electromechanical Flywheel Hybrid Electric Vehicle)。

④ 动力蓄电池与超级电容器组合式混合动力电动汽车(Traction Battery and Super Capacitor

Hybrid Electric Vehicle)。

(2) 混合动力电动汽车按照其技术特征、燃料类型、功能结构和车辆用途等因素还可有其他划分形式。

串联式混合动力电动汽车

串联式混合动力电动汽车车型举例:通用汽车公司Series- SHEV 汽车的结构

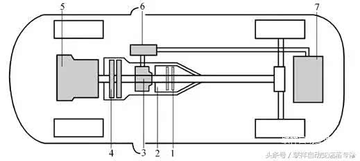
并联式混合动力电动汽车

并联式混合动力电动汽车车型举例:日产风雅混合动力汽车

起动工作过程

一般行驶时工作过程

电量少时工作过程

制动时工作过程

完全加速或爬坡时工作过程

混联式混合动力电动汽车

混联式混合动力电动汽车车型举例:丰田混联式混合动力系统

丰田普锐斯混合动力系统(Toyota Hybrid System,简称THS )是丰田汽车公司自行开发的,THS 的核心是用行星齿轮组组成的动力组合器来协调发动机和电机的运动和动力传递。THS 已有多种变型产品, 例如在THS 基础上改进的THS-Ⅱ (图3-1), 在THS 基础上增加无级变速器的THS-C (C 代表无级变速器), 在THS-Ⅱ基础上增加电气式四轮驱动系统(E-Four) 的THS-Ⅱ+E-Four 等, 其基本原理基本相同。

丰田普锐斯混合动力系统工作原理

车辆行驶状

准备起动状态

起动后蓄电池充电

起步工况

汽车起步后发动机起动

发动机驱动发电机

发动机微加速工况

低载荷巡航工况

节气门全开加速工况

D位减速行驶

B位减速行驶

倒车工况

起动发动机

发动机驱动电机(MG1)