宝马要出可折叠的方向盘了?说说这5款最“不老实”的宝马方向盘

宝马客 2020-03-31 11:24:50 显示图片

宝马要出可折叠的方向盘了?说说这5款最“不老实”的宝马方向盘



​方向盘是开车时接触最多的部件,重要性不言而喻,一副好的方向盘,能够给到你灵活精准的转向,正如宝马一样,无论是曾经的液压助力还是现在的EPS电动助力,都能让你和车更加有默契。



不过宝马最近两年开始“不老实”了,推出了很多新式的方向盘,不光是造型不同了,功能也发生很大改变,比如能切换形态的“折叠式方向盘”,有棱有角的“多边形方向盘”等等,你是会期待还是会拒绝呢?


最诧异——折叠式方向盘


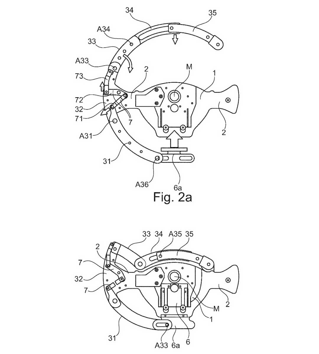
可能大家会和我一样感到困惑,方向盘竟然还可以折叠?近日,在国外一宝马论坛上(BMW X2 Forum),一位不愿意透露姓名的用户发布了两张看起来极其无趣的图纸,但他解释到,这是宝马近期已经申请的专利技术,这项技术可以让方向盘在圆形和椭圆形之间切换



图纸大概能看得出,这个方向盘设计有两种形态,似乎是通过某种机构来进行切换,好像有点似曾相识对吧?这样的设计其实最早出现在宝马的BMW Vision Next 100概念车上,当启动车辆后方向盘会自动伸缩出来。



直白来讲,能够切换形态的折叠方向盘事实上是为了安全驾驶而存在的。拿宝马举例子,大多G底盘且装有驾驶辅助系统的车辆,在手离开方向盘太久后,会闪烁方向盘上的LED灯提醒驾驶者,而装有早期驾驶辅助系统的宝马则会在不打转向灯变线时震动方向盘以提醒。但这些措施对于紧急情况还是有点捉襟见肘。

事实上在突发情况时,视觉上的刺激可能没法及时让驾驶者做出调整,如果这个时候方向盘能够突然变换形态,无疑是有效提醒了驾驶者要处理突发情况,所以你一定能明白宝马之所以申请这个专利的原因了。



毕竟未来几年宝马都在大力发展高科技纯电车型,未来也必将迎来L3级的自动驾驶系统,而一套全方位的主被动驾驶辅助系统对车内人员的安全至关重要,虽然不知道宝马何时量产这款折叠方向盘,但相信到那时,宝马已经开放给量产车以L3级的自动驾驶了。


最酷炫——镂空方向盘


前些日子发布的宝马i4概念车为我们展示了明年投入量产的i4的雏形,抛开外观不说,i4概念车的内饰还是很酷炫的,它的方向盘虽然依旧采用三幅式设计,但做了镂空处理,这样不止能减轻重量,也提供了更广的视野,让驾驶者更方便观察到仪表盘上的内容。



搭配上闪闪发光的璀璨水晶材质组件,如果明年量产i4能够沿用这样的造型设计,那么绝对会是一大卖点,况且这种大面积镂空的设计对于不带HUD的宝马无疑是福音,再也不会有低头看遮挡住的速度表的尴尬了。


最贴心——多边形方向盘


当我听说宝马要用上多边形方向盘时,一时间难以想象,但当见到实物后,却又忍不住爱上....首先,这个多边形方向盘将首次搭载于明年亮相的宝马纯电旗舰SAV——iNEXT上



这款多边形方向盘的灵感来源于赛车,方向盘的上、下部分均为扁平形状,侧面圆角则保证了舒适的握感。其实这算是对赛车方向盘的一种改良,因为赛车的座舱都比较窄,而且又注重轻量化,所以很多功能就集成到了小小的方向盘上,而赛车所需的转向角度又不用很大,所以做成方形的更容易判断方向盘位置,宝马便在方形的基础上做出了多边形,一来更便于驾驶者判断车辆转动的角度,二来也兼顾到了日常驾驶的舒适性。



另一大优点:因为iNEXT这款搭载了多边形方向盘的车同时也有一体式曲面大屏,如果把方向盘做成多边形,可以留出更充足的视野给驾驶者观察,这一点对于大多数需要低头看仪表的朋友无疑是很友好的了。



同时,方向盘侧面嵌入的光纤能通过彩色信号提示自动驾驶功能的可用性,也能在特定情况下提醒驾驶者立即接管车辆控制权。


最经典——F底盘丁字裤方向盘


当然,说方向盘就少不了Bimmer们津津乐道的丁字裤,它也叫做M运动型多功能方向盘,是宝马一大标志性配置,曾经F3X 3系刚刚面世时,无数人为这Q弹的Nappa皮质手感所痴迷,不惜花上重金去改装。



而如今,丁字裤方向盘也慢慢地普及开来,虽然少了当初那种热度,但千万别忘了,丁字裤方向盘也是有近亲的,也就是原厂的带Alcantara包裹及回正标的丁字裤方向盘,以及带显示屏和换挡指示灯的丁字裤。



这也成为了很多大汗手和硬核玩家的不二之选,最受欢迎的还是带屏幕和换挡指示灯的款式,大概7千多的价格,只需花费一个半小时左右就可以搞定,至于效果嘛,就是随时要落赛场的节奏了,可以说非常热血。



而F底盘丁字裤更加精彩的莫过于M车型,因为它有着刀锋式换挡拨片,M1/M2两个预设驾驶模式选择,更有镂空饰板的设计,可以说是细节升级版的丁字裤了。



最新鲜——G底盘丁字裤方向盘


但到了G底盘的宝马,似乎大家并不太愿意称其为丁字裤方向盘了,因为盘幅的增大,稍微显得臃肿了一些,但实际体验来讲,新式的丁字裤方向盘握感更足,由于集成了宝马最新式的驾驶辅助系统,所以尺寸不得已有所增大,当你不老实握住方向盘时,系统会亮灯善意提醒,算是智能化的一个进步了吧。



同样的,新式丁字裤方向盘也提供了带回正标的Alcantara材质选择,不得不说这才是丁字裤方向盘的归属,虽说纯Nappa材质同样舒适易握,但比起专业性还是有点不足。



同样少不了的是装配了新式丁字裤的M车型,例如F90 M5,一对抢眼的红色M1/M2键不时挑逗着你的神经,而镂空饰板的设计依然是传承了丁字裤的经典,但疑惑的是,到了新式丁字裤方向盘上,换挡拨片却没有变样,或许是因为大盘幅不再适合细长的刀锋拨片了?



宝马向来都是比较保守的,虽然出现过这么多款式的方向盘,但真正普及的不多,而接下来随着电动车型更多地推出,我们也将更快地与多边形方向盘见面了,有的东西,不试过还真不好下结论,你觉得呢?


写在最后:

曾经以为高不可攀的丁字裤方向盘渐渐也普及,随着驾驶辅助等功能增加,方向盘的职能也在变化,或许有一天车子会进步到无需方向盘了,又或许方向盘有一天可以变得很小,小到收纳进口袋,未来谁知道呢,反正享受当下就好了,小编认为丁字裤再流行十年都不为过,你觉得呢?

你最喜欢哪款方向盘?

请留言  评论