宝马可伸缩汽车方向盘专利公布 网友:这是车载健身器材?

e创智联 2020-06-09 18:17:46 显示图片

宝马可伸缩汽车方向盘专利公布 网友:这是车载健身器材?



汽车方向盘是圆形,这件事就像“电视是方型”一样深入人心。但实际上,大多数汽车的方向盘绝不可能是完美的「正圆形」,而是有的椭一点、有的扁一点。当然,这其中也有一些异形方向盘,比如性能车是平底、F1赛车是方型、甚至有的特技车只有两根棍儿。

▲F1赛车的方向盘

如今,宝马在此基础上更是脑洞大开,正在研发一种可伸缩折叠的汽车方向盘。

根据宝马最新申请的专利图显示,这种方向盘的造型酷似《变形金刚》中的“霸天虎”,光是专利图就能让我想起“酷酷咔咔酷酷咔”的机械拼接声。

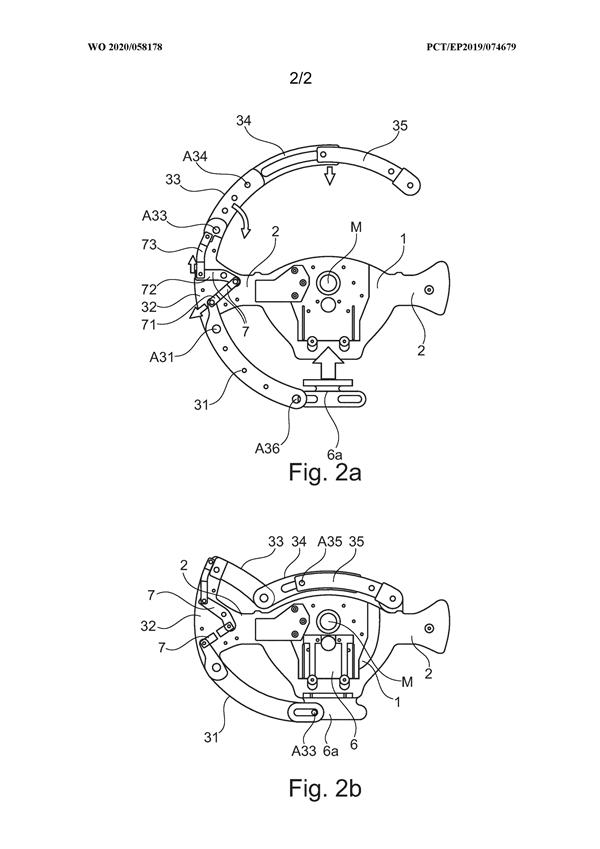
▲宝马申请的专利图

实际情况也确实如此,专利显示这种方向盘采用了一系列非常复杂的铰链设计,可以从传统的圆形折叠成椭圆形,与现在市场上流行的「折叠屏手机」有异曲同工之处,但机械结构更多更复杂。

按照专利图显示的信息来看,这种方向盘在日常状态下就是一个普通的方向盘。但当它一“生气”变形时,方向盘就会通过铰链、耦合等结构把12点位置向下移,同时把6点位置向上移,从而变成类似于椭圆的造型。

那么问题来了,这种方向盘有什么用呢?它折叠的目的,真的像网友说的一样只是“健身器材”吗?接下来咱们一探究竟。

01为自动驾驶铺路?

关于可伸缩折叠的方向盘,我相信绝大部分人会把思维聚焦到自动驾驶上。毕竟今年CES上奥迪发布的AI:ME,也是采用了类似的「可伸缩」设计。

根据国外BMWX2forum网站(宝马的粉丝论坛)报道,这种可变形的方向盘会在车辆处于自动驾驶时,自动收缩为椭圆形或直接嵌入中控台当中。目的,自然就是为了驾驶员提供更大的活动空间。

▲当车辆实现L5级自动驾驶,方向盘也就没意义了

如果按照这个思路去考虑,那未来使用这种方向盘的宝马车型,都会在进入自动驾驶后把方向盘折叠收回去。万一遇到特殊情况需要人为接管,方向盘又会自动弹出,让驾驶员亲自操作。

由此可见,相较于“传统方向盘”和“完全没有方向盘”的L5级自动驾驶,可变形方向盘兼顾了二者的优势,属于折中做法,既满足了驾驶席对空间的诉求,还能保证在紧急时刻人对于车辆行驶状态的干预。

当然,这也直接说明了,这种方向盘最高“仅”能支持到L4级自动驾驶。

实际上,宝马对于自动驾驶的研发并不比奥迪慢多少。自2000年开始,宝马就开启了自动驾驶的研发工作,并且在2016年首次提出了“ACES”战略,正式进军“新四化”。(电动化、智能化、网联化、共享化)

宝马集团董事长科鲁格将2016年至2025年划分为三个阶段:第一阶段集中力量推进电动化,第二阶段在自动驾驶领域增加研发预算,第三阶段目标成为高端出行领域的顶级厂商。

▲宝马正在一步一步的朝电气化的发展走

所以由此可以看出,如果可伸缩的方向盘是宝马自动驾驶的“铺路行为”的话,那目前宝马已经进入了第二个阶段最关键的时期。无论是可伸缩方向盘,还是未来宝马有可能推出的新技术,都是宝马实现全自动驾驶时重要的技术储备。

随着国内新势力造车的崛起,自动驾驶似乎已经成为汽车工业发展的趋势之一了。为了在这片市场占有先机,谷歌Waymo、百度Apollo(阿波罗)、特斯拉、BBA,国内的蔚来、小鹏等等厂商早就开始了暗度陈仓。

根据自动驾驶的等级划分,L3级毫无疑问是整个自动驾驶的分水岭。在奥迪、特斯拉等厂商把L3级自动驾驶带到市场之后,2020~2021年这段时间,留给其它厂商的时间已经比较紧迫了。

02全新的被动安全配置?

与粉丝们有些“一厢情愿”的想法不同,英国汽车资讯网站Auto Express对于宝马的可折叠方向盘给出了不同意见。该网站认为:这个创新主要是为了增加自动驾驶汽车的安全性,甚至安全可能才是宝马开发这项技术的主要原因。

专业的不愧是专业的,观点就是独特。

▲宝马VISION NEXT 100

实际上,宝马这种可伸缩方向盘的设计已经不是第一次出现在大众视野了。宝马在2016年慕尼黑百年庆典上发布的概念车——VISION NEXT 100就使用了这项技术。当车辆启动时,方向盘会自动弹出来。

以我个人的角度来看,折叠可伸缩方向盘在安全性上的应用会比自动驾驶上的应用可能性更大。

还拿宝马举例,宝马G系列底盘且装有驾驶辅助系统的车辆,在手离开方向盘太久后,会闪烁方向盘上的LED灯提醒驾驶者,而装有早期驾驶辅助系统的宝马则会在不打转向灯变线时震动方向盘以提醒。

显然,这些措施对于紧急情况还是有点捉襟见肘。如果遇到突发情况且无法避免时,最有效的被动安全配置才是“保命装”。无论是方向盘自动回收也好,还是折叠变形也好,为驾驶员做些什么,是那种紧急时刻的首选项。

不过还有个问题,如果方向盘自动回收了,气囊怎么弹开…好吧,我相信如果可伸缩折叠方向盘真有这种「保护功能」,工程师也一定会解决好的。 

▲此前奥迪AI:ME上展出的可伸缩方向盘

其实在2017年,斯坦福大学研究人员已经对“可自动改变形状的方向盘”自动驾驶车辆进行了测试。试验结果表明,在紧急情况下,相较于灯光提醒类的方向盘,人们对可变形方向盘的反应速度更快。

斯坦福大学对于这项研究给出的评价是:“体验自动改变形状方向盘的驾驶员,比体验LED灯光方向盘的驾驶员表现得更好。也就是说,利用机械动作发出警报,比纯粹的视觉警告更有效。”

这种方式并不难理解,举个生活中常见的例子:“你觉得是手机闹钟反复响醒得快,还是你老妈直接给你一个大嘴巴醒得快呢?”宝马的技术就是属于后者,当然,它会很温柔。

说起来,宝马在方向盘的创新设计方面可是有着悠久的历史。2018洛杉矶车展,宝马发布了Vision iNext概念车。该车配置了一幅类似于F1赛车的矩形方向盘,造型非常独特。

官方宣称这种设计既可以让驾驶者轻松地在自动驾驶模式与主动驾驶模式之间切换,也可以让其更容易识别车轮的转向角度,提升驾驶精准度。由于我没开过F1赛车,所以官方的说法…也只能默认“应该是这样”了吧。

▲宝马Vision iNext

有业内人士推测,宝马2021年的iNext车型上不会搭载这种可伸缩折叠的方向盘,但这种设计并没有工艺上的重大难题,所以理论上只需要几年的时间就能投入生产,距离量产的时间也不会太长。

可见,可伸缩折叠式的方向盘难点不在于制造,而在于应用。

03写在最后

经常关注概念车的朋友一定知道,很多车企最喜欢做的事就是把概念车的方向盘搞的像“宇宙飞船”一样。到底能实现什么功能,我们不得而知,总之看上去很炫酷就是了。

不知道宝马是不是第一个考虑把「可伸缩折叠式方向盘」量产的厂商,但无论如何,这种天马行空的想法和勇于探索的精神还是值得我们每个人的掌声。哪怕这项技术最后不成功,我们也没有因此损失什么。

可如果成功了,这就关系到我们每个人的切身利益。汽车工业发展这么久,那些真正实用的「高科技配置」,不都是这么来的吗?