特斯拉赛博皮卡将使用电磁雨刮器,原理类似磁悬浮列车

玩儿车派 2021-01-18 16:41:20 显示图片

特斯拉赛博皮卡将使用电磁雨刮器,原理类似磁悬浮列车



近日,特斯拉一项名为“电磁雨刷系统”的专利在今年1月12日被正式授予,该专利最早于2019年3月正式提交,9月初进行了公开,该款全新的专利技术展示了一种单一的雨刷设计,可以在挡风玻璃上横向移动,与传统的弧形旋转式刮水器不同,特斯拉的全新雨刮器将会做到和人的动作相同,他用一对轨道取代了一个旋转的马达臂,也就是在挡风玻璃底部和顶部安置两个电磁轨道,这两条轨道推动着雨刷臂上的电磁铁,推动雨刷前后移动,原理类似于磁悬浮列车。



特斯拉表示,传统的雨刷系统通常使用电动马达来移动一个或者多个雨刷叶片来清洁汽车的挡风玻璃,这类系统的组装包括几个机械部件,如齿轮和轴承来使雨刷臂在挡风玻璃上滑动,这种机械的滑动运动在操作过程中产生了较大的摩擦力,会消耗更多电力,如果是电动汽车的话,就会减少电动汽车的续航里程,而且传统雨刮器还会出现生锈和磨损,这可能会使清洁挡风玻璃的效率降低,在雨水频繁的地区尤为严重。


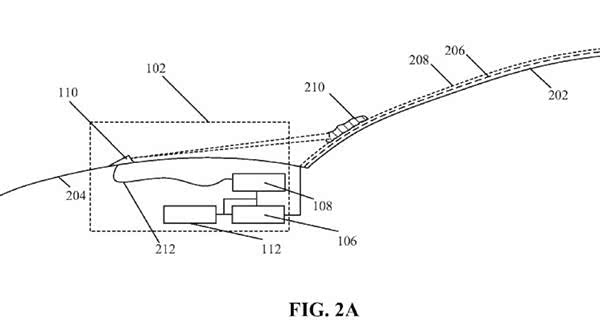
特斯拉认为,有必要设计一种全新的雨刷系统,使其清洁效果更好,使用时间更长。特斯拉在其电磁雨刷系统的设计中使用了“可能包括导轨和电磁移动块的线性驱动器”使其形成一个”设计简洁的线性单刮水器。特斯拉描述其雨刷组件的工作原理如下。



所述电磁刮水器系统可包括线性执行器,线性执行器可能包括导轨和电磁移动块。导轨包括多个永磁条,可沿车辆挡风玻璃的曲率水平布置。电磁移动块可以起到电磁列车的作用,包括多个穿孔和至少一个围绕所述电磁移动块中多个穿孔的电磁线圈,电磁移动块通过所述多个永磁棒的直线运动可被控制以操纵雨刷臂,可以耦合到电磁移动块,在整个挡风玻璃的横向来回擦拭一个确定的区域,例如,挡风玻璃的整个透明区域(即接近百分比的区域)。这可能会在电磁移动块的直线运动过程中产生最小的摩擦。


不管怎么说, Cybertruck 在营销上是史无前例的成功,成功赚到流量的同时也再次把皮卡粉丝这波消费者的钱包掏了个空。作为 Musk 口中自己迄今为止最喜欢的产品之一,希望今年年底下线时它真的是一辆酷到爆同时兼具实用性的纯电动皮卡。