特斯拉尝试铸造一体成型车,像造玩具一样造汽车

电车圈 2021-01-27 20:41:23 显示图片

特斯拉尝试铸造一体成型车,像造玩具一样造汽车




特斯拉并没有放弃用单件铸件制造汽车的整个车身制造汽车的梦想。马斯克最近在推特上说:"通过我们的巨型铸造机,我们真的是想用制造玩具汽车的方式来制造全尺寸汽车。"他说。


就像玩具汽车是用完整的车身压铸件制造的一样,特斯拉也在试图将同样的概念带到现实世界的汽车制造中。特斯拉在这一方法上的成功将进一步推进该汽车制造商在其Model Y电动SUV上开始推行的单件Giga铸造革命。


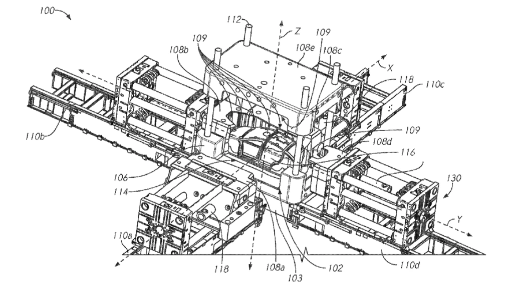
特斯拉巨型铸造机的概念图.上图。特斯拉的巨型铸造机概念图(来源:USPTO / Tesla)。

去年,特斯拉的一项专利展示了该公司如何设想一台巨大的一体式车身铸造机,可以一次性制造出汽车的整个外壳(外骨骼)。

也就是说,当马斯克在Battery Day上展示了Model Y的单片式后部和前部车底铸件时,怀疑论者表示,一体成型的生产概念已经死了。然而,随着马斯克最近的推特,很明显,特斯拉仍然在追求单体特斯拉汽车的想法。

虽然这种情况可能不会发生在Model Y上,但特斯拉的Cybertruck预计将于今年晚些时候在Giga Texas开始生产。Cybertruck能否利用一体式车身铸造的优势?

Cybertruck标志着特斯拉从生产角度出发,首次采用外骨骼方式的起源。它的车身被认为是一块不锈钢板折叠而成,形成标志性的低聚形状。这是一种独特的(也是独一无二的)外形因素,但不一定是这种一体成型铸造的候选者。

制造一体成型的Model S、3、X、Y或未来的特斯拉可能需要一台比特斯拉弗里蒙特汽车工厂(或Giga上海)看到的更大的铸造机。事实上,Giga Berlin还为8台这样的机器在工厂车间创造了调试空间。

不过,这些特殊的机器是为制造特斯拉Model Y车底铸件而定制的巨型Idra压力机。马斯克所说的是一台更大的机器。从以下取自特斯拉与巨型单体铸造机相关专利的蓝图插图中可以窥见这一概念。


特斯拉巨型一体机专利Above: 特斯拉巨型单体铸造机的概念(来源:美国专利商标局/特斯拉;探索XAuto的完整专利)。

这么大的机器可以让现在的千兆铸造机显得很小。特斯拉的这项专利还没有获得批准。在进一步微调之后,特斯拉可能会申请另一项专利,或者重新申请,并进行修改。马斯克并不准备因为一项未获批准的专利就放弃这一目标。

目前仍不清楚特斯拉何时能够实现使用巨型铸造机制造整车的目标。但随着我们越来越接近25000美元的紧凑型特斯拉,汽车制造的未来可能会变得更加有趣。