免拉离合器,川崎电子变速专利曝光

MOTO 2021-01-29 17:22:30 显示图片

免拉离合器,川崎电子变速专利曝光






​随着近年电控系统的成熟,不少车款都配备有先进的进退快排功能,但对于更讲求舒适度和巡航性的车款来说,进退快排依旧无法实现真正的自动换挡,川崎近日曝光一组全新的电子变速系统专利图,暗示未来川崎将有可能推出拥有更顺滑自动变速功能的车款。

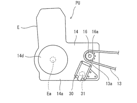
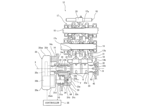
从专利图上来看,川崎使用初代Ninja 1000SX作为专利展示车型,而这套电子变速系统也保留了原本的左脚档杆,但在变速箱内部则加入电子系统来辅助离合器的收放动作,给予类似进退快排的运作方式,但由于离合器是通过电脑控制、操作接合,因此这套系统将会比进退快排的顿挫感更小。


其实日系品牌在自动变速方面投入相当多的研究,像是HONDA有着DCT双离合器变速系统、YAMAHA也曾发表过YCC-S电子离合器,而这次川崎曝光的专利看起来和YAMAHA的YCC-S较为类似;而与HONDA DCT相比,这样的设计重量更轻,也保留了打档骑乘的乐趣。


从专利图上来看,川崎这套系统由于沿用了原本传统的变速箱设计,仅在离合器部分额外加入电脑控制系统的装置,因此可以直接沿用到绝大多数的现有车款上头;对应先前川崎预告将要推出搭载ACC自动跟车系统车款,未来或许这套电子变速系统将会和ACC一起出现在Versys 1000、Ninja 1000SX、H2 SX等巡航风格车款上。


看到这套系统,就让笔者想到先前试乘KTM 390 ADVENTURE时搭载的离心式离合器搭配进退快排的操作感受,但由于离心式离合器是机械构造达成“不用拉离合器换档”的操作,在某些转速下还是会有明显的顿挫感;而川崎这套系统是由电脑来控制离合器的接合,究竟能做到什么程度的换档顿挫抑制,真的令人相当好奇!