第344批牵引车新车还有啥亮点

方得谈车 2021-05-17 16:58:35 显示图片

第344批牵引车新车还有啥亮点



新一批新车公告来了!牵引车细分中都有啥亮点?

近日,工信部公示了第344批新车公告。方得网通过盘点发现,总共有31款牵引车上榜,数量上比343批减少了19款,比342批减少了11款。不难看出,随着5月淡季的来临,企业推出新款牵引车的步伐也在放缓。

31款牵引车中,国六柴油牵引车共有20款,国六天然气牵引车共有4款,电动牵引车(换电+纯电)总共有3款,燃料电池牵引车共计有4款。

如果按照企业来划分,解放与重汽均有有5款牵引车上榜;红岩有4款牵引车上榜;陕汽、大运的牵引车上榜数量都是3款;东风、福田、江淮各有2款牵引车上榜;剩余的5款牵引车则分别来自宇通、庆铃、苏州金龙、北奔与广汽日野这5家企业。

如果按照驱动形式来划分,在总共31款牵引车新车中,有26款是6×4牵引车,只有5款是4×2牵引车。

来看方得网从本期公告中发现的亮点。

亮点一:解放J7配东康Z14

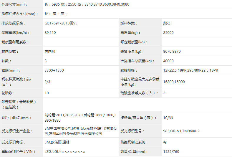
在本期牵引车公告中,一款产品型号为CA4180P77K24E6的解放J7平头4×2柴油半挂牵引车着实引人关注。

它不仅可以匹配大家所熟悉的解放动力460 500 560马力的CA6DM3发动机, 而且还可以搭载东康Z14 560马力发动机,对应油耗为均为每百公里33.8L。


 

公告中显示,该车可装备左侧800L,右侧500L油箱;选装左侧600L,右侧400L油箱。


 

无论如何,解放与康明斯的携手都非常值得关注,二者可谓是强强联合。

亮点二:苏州金龙推燃料电池牵引车

传统客车企业推新能源重卡在业内早已不算是新闻,在今年早期的几期公告中也有不少上榜的先例。

在本期公告中,苏州金龙带来了一款燃料电池半挂牵引车,产品型号为KLQ4250FCEV,整备质量为1.1吨。


该车燃料电池生产厂家是上海杰宁新能源科技发展有限公司;驱动电机型号是EK120400PMS2,生产企业是凯博易控车辆科技(苏州)股份有限公司,电机的峰值功率是200KW。


亮点三:重汽汕德卡氢燃料牵引车首秀

本期公告中,重汽带来了一款汕德卡燃料电池6×4牵引车,产品型号为ZZ4256V384HZ1FCEV。该车采用质子交换膜燃料电池,生产企业为潍柴,驱动电机型号为TZ410XS-LKM2001,生产企业为苏州绿控,额定功率为240kW,峰值功率为360kW。



亮点四:红岩杰狮H6氢燃料牵引车再亮相

本期公告中,红岩再次推出了一款杰狮H6氢燃料牵引车。燃料电池类型为氢-质子交换膜燃料电池,生产厂家是上海捷氢科技有限公司;驱动电机型号为TZ400XS035A,额定功率180KW,峰值功率360KW,生产企业为中车时代电动汽车股份有限公司。


 

现如今,红岩已推出杰狮H6 4X2牵引车,杰狮H6 6X4牵引车,杰虎H6 4X2载货/专用车等多款氢燃料重卡车型,可满足客户在城市环卫、城市物流、煤炭运输等不同场景的使用需求,并被多个氢能示范城市列为推荐车型,未来4年将逐步落地超10000辆。

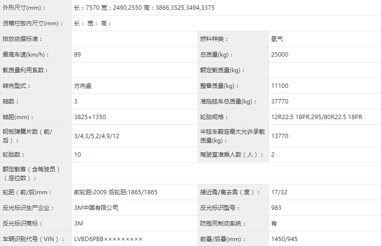
亮点五:福田再推一款氢燃料电池牵引车

本期公告中,北汽福田公示了一款氢燃料电池牵引车,车辆型号为BJ4259FCEVPH,整车外形尺寸为7570×2490/2550×3866/3525/3494/3375mm,轴距为3825+1350mm;总质量为25000kg,整备质量为11100kg。

动力匹配方面,北汽福田新款牵引车型配装氢燃料电池反应堆,生产厂家为亿华通;储能装置采用锰酸锂电池;匹配北汽福田FTTB220永磁同步电机,峰值功率360kw。



亮点六:宇通再推纯电动牵引车

继上批推出3款纯电动牵引车后,客车龙头企业宇通在本批公告中再次带来了一款纯电动牵引车,该车产品型号是ZKH4250P4BEV5。




该车允许外接充电,采用磷酸铁锂蓄电池,驱动电机来自宇通客车,电机型号为TZ400XSYTB59,,额定功率为310kW,峰值功率为400kW。

不难看出,宇通自主研发的纯电动牵引车已经初具规模,其未来市场预期值得期待。

亮点七:大运换电重卡亮相

2021年3月,大运首辆6×4换电牵引车完成试制并下线。

本期公告中,一款大运换电式纯电动牵引车终于登上公告,该车的车型号是CGC4250BEV1Z5,整备质量为11850、13000KG。



大运在342批公告中有两款燃料电池牵引车上榜,这次又新上榜了一款换电牵引车。未来,大运在新能源重卡上的发展值得期待。

亮点八:两款陕汽M3000S配东康L9

在本期公告中,两款配有东康L9系列发动机的陕汽M3000S牵引车亮相。

第一款产品型号是SX4259MC4Q2,驱动形式是6×4,整备质量为8070、8870KG;该车配有东康L9NS6B400发动机,最高马力400,油耗申报值为每百公里39.6L。


第二款产品型号是SX4189MC1Q2,驱动形式为4×2,整备质量为6600KG;该车配有东康L9NS6B360发动机,最高马力360,油耗申报值为每百公里35.2L。



亮点九:罕见水蓝色X6000驾驶室亮相

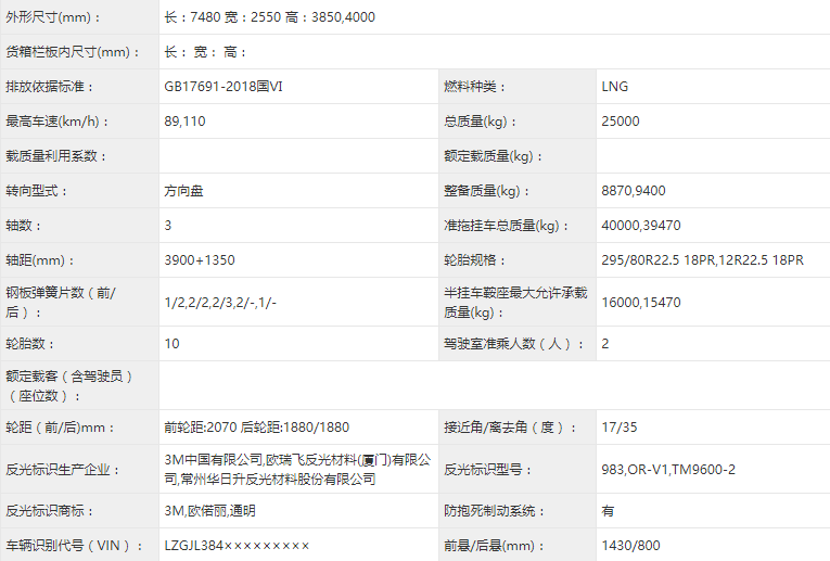
本期公告中,有一款陕汽德龙X6000 LNG 6×4牵引车亮相。该车配有潍柴13升燃气机,马力有400、430、460三种可供选择,整备质量为8870与9400KG。


本车最具亮点的是驾驶室颜色,其并非局限于众人在X6000上经常所见的纯白、朱红与深蓝这三种颜色;值得一提的是,该车水蓝色的驾驶室颜色选取与陕汽的环保理念可谓不谋而合。


亮点十:江淮格尔发新驾驶室亮相

在本期公告中,两款配有全新驾驶室的江淮格尔发牵引车亮相,产品型号分别为HFC4254P1K7E33S与HFC4254P1K6E33S与。值得一提的是,两款车驾驶室设计与格尔发传统的A系与K系均有所不同:前脸镀铬装饰条只有两个,而且进气格栅采用了椭圆形镂空设计。

动力方面,一款搭载福田康明斯X12NS6B490发动机,另一款搭载玉柴机器YCK11460-60发动机,最高功率分别为490马力和460马力。


本期公告中的亮点还有不少,比如北奔推出了一款新V3MT LNG牵引车、庆铃与广汽日野新款牵引车亮相等......

公告中新上榜的牵引车总是不乏亮点。

对此,方得网将持续关注。