前有坦克,后有军舰,比亚迪新系列或定位硬派越野车

一号汽车网 2021-10-18 09:42:22 显示图片

前有坦克,后有军舰,比亚迪新系列或定位硬派越野车



在当下竞争日趋激烈的汽车市场,车企们除了不断提升产品综合实力之外,还在车型命名上下足了功夫,以此通过个性化的名称吸引更多消费者的关注。而在众多品牌中,自主品牌们无疑玩得最溜,比如哈弗的“狗”系列、奇瑞的“蚂蚁”系列、WEY的“咖啡”系列等等。最近,网上又爆出了比亚迪正在申请新的商标。


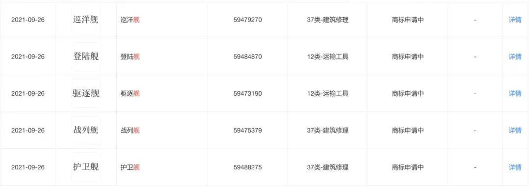
据悉,比亚迪有限公司正在申请“海军“系列商标,包括”巡洋舰“、“护卫舰”、“登陆舰”、“驱逐舰”、“战列舰”等,可以看到它们都是以战舰系列为命名的名称,而这也是比亚迪继王朝系列、海洋系列(包括海豚、海鸥、海龟等)后的又一大产品序列。不过相比于命名,相信不少人更好奇未来该系列车型的定位是什么。




目前,比亚迪的王朝系列基本涵盖了燃油车和新能源车型,而海洋系列则主打年轻群体,且聚焦纯电动车市场。在此背景下,军舰系列自然不会与王朝系列、海洋系列重复。值得一提的是,同长城旗下的坦克品牌一样,军舰系列的名称本身就比较硬派,因此该系列未来很有可能主打硬派越野车系列。



查看目前比亚迪的车型后可以发现,该品牌目前并没有相应的车型,并且 坦克300的成功也直接证明了硬派越野车市场有着庞大的市场需求。根据长城汽车刚刚发布的9月份销量看,坦克300在9月共交付了8021辆,前三季度累计交付52572辆,这一成绩不可谓不傲人。未来坦克系列的其它车型陆续上市后,相信坦克系列的销量还会持续走高。



另外在车型命名上,比亚迪的军舰系列无疑要比长城的坦克系列更有深度,因为军舰本身就是根据排水量来划分的,比如1000-2000吨是护卫舰、3000-4000吨是驱逐舰、7000-15000吨是巡洋舰、20000吨以上则是战列舰。按照这个逻辑,未来入门车型应该是护卫舰,旗舰车型则为战列舰。


其实除了长城和北汽有相应的硬派越野车之外,不少自主品牌也在虎视眈眈,比如老牌越野车制造商东风就透露未来将推全新的M品牌,其将定位为高端的越野车市场,不过驱动形式为电动,所以其首款车型大概率是电动猛士,预计售价在60-70万左右。



而近年来发展迅猛的领克品牌也曾表示要基于CMA、SPA架构推出6款车型,其中除了热度颇高的领克09外,还有一款硬派越野车。相比领克09即将上市的状态,硬派越野车却还在设计阶段。


写在最后

不难看出,近年来国内的汽车市场竞争已愈发激烈,头部自主品牌除了发力新能源市场外,在传统的燃油车市场同样没有停下脚步,在当下大众化的轿车及SUV产品让人眼花缭乱的背景下,车企们已开始将目前投至细分市场,显然这对于整个汽车市场是有益的。回到比亚迪的军舰系列上,目前比亚迪所申请的军舰系列品牌都处于申请中,还不确定能否顺利申请成功,但至少能猜出比亚迪的全新系列将与我们见面。至于该系列的定位到底是什么,让我们拭目以待吧。


注:部分图片来自于网络,若图片涉及版权问题,请与我们联系我们将及时更正、删除,谢谢

原创文章欢迎转载,需注明来自一号汽车。如发现非法转载,我们将追究法律责任。