
印度市场近几年的崛起绝对是大家有目共睹的,许多车厂为了要降低生产成本也都纷纷和印度当地的车厂合作生产旗下的车型或进军当地市场。 宝马也是其中之一,他们选择的是和印度第三大车厂TVS合作,也带来了许多讨论度相当高的车型。 不过最近,他们向专利局申请了一项新的专利,从送审的资料来看他们正在研发一辆纯电动车型!

和宝马合作多年的TVS过去代工过不少车型,最近他们申请了全新的电动摩托车专利
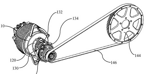
TVS除了推出自家的车型之外,也帮宝马代工制造了非常多款热门车型,比方说G310、CE 02等,当然这些车型也衍伸出了旗下的RTR 310 roadster、TVS X等车款。 这次他们送审的数据,是通过电动马达带动皮带驱动后轮转动以及挡位的全新设计。 值得关注的还有一个重点,那就是TVS在资料中提到这将会是一辆「纯电动力挂档车型」,所以你可以先排除他是一辆市区通勤使用的小绵羊了。

通过宝马的代工经验,TVS也推出过纯电动力的TVS X

这次的专利图当中,TVS推出了全新的设计,并表示他会是一辆「纯电动力挂挡车」
拥有着宝马 CE 02的生产经验,TVS改善了整个动力传动的方式,首先他针对传动进行调整减少了动力流失,改良后的设计也能够应用在动力更大的宝马 CE 04上,提升车辆的运转效能。 电池的设计也和目前市面上大多数电动摩托车不同,市场上的竞争对手大多都是将电池固定放置在一个区域,但他们选择将电池做成薄型设计并让他立于中央两侧,其实和现在不少电动汽车的设计有些类似。

传动部分也进行了更多优化,减少摩擦导致的动能流失

电池的摆放位置也和市面上大多数竞争对手不同,挂置于两侧
再回到电动马达的部分,他的设计和TVS旗下的King EV Max非常类似,这将意味着他会有29.5lb·ft的最大扭力值。 至于TVS送出的这辆电动摩托车专利会不会是挂着宝马的车标,这问题对现在来说还真的有些太早。 虽然宝马在欧洲当地的工厂现在遇到了不少问题,不过如果他们将制造厂先搬来印度来赶上现在这波电动车潮流,好像也不无可能? 但最终的答案还是要交由宝马或TVS官方后续公布才能知道了。

整体的电动马达和TVS旗下的三轮摩托车King EV Max非常类似,但动力部分将会是比他更大
MOTO
评论(0)