你知道燃油压力表检测注意事项吗?看这里就知道了

汽车之家

燃油压力表检测注意事项

①先作基本检查及将明显坏件更换,然后作燃油系统测试,以缩短工作时间。

②测试燃油压力时,必须在发动机怠速及高转速情况下进行。

③使用前应拧开油缸盖及关闭发动机。

(2)操作步骤

①燃油系统放压步骤:

第一步,拧开油缸盖及关闭发动机。

第二步,截断燃油泵电路。

第三步,有部分汽车最理想方法是取走汽油泵熔丝(可能有一条以上)。有些汽车设计上是将熔丝取走而令燃油喷射器或整个燃油系统不能工作,视各类牌子汽车而定。

第四步,启动发动机。

进排气支管的结构

第五步,让发动机转动,直至自动停熄。

第六步,重新启动发动机3~5s(有些设计是需用15s来泄放燃油压力)。

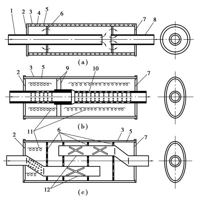
排气消声器

1-进气管;2-前端盖;3-外壳;4-纤维夹层;5-内壳;6-多孔隔板;7-后端盖;8-出气管;9-隔板;10-带孔管;11-吸声材料;12-带缝管

第七步,熄火。

②燃油系统压力测试。测试燃油压力时,必须在发动机怠速及高转速情况下进行。

第一步,检测系统连接,关闭发动机,找出汽车进油管接头,并与燃油压力表检测系统连接。如所测试汽车无燃油阀,则需在拆开油管时,要防止汽油高压溢射,伤及身体、眼睛或引起火灾。连接时,必须正确选用燃油压力检测配件接头中的连接嘴进行接驳。如测试的汽车没有标准的接嘴时,则需以软管加接头锁紧,连接方法。

燃油压力表的连接

1-燃油压力表;2,5-专用接头;3-进油管;4-燃油箱;6-汽油滤清器

第二步,根据自己熟悉的技术资料规定的压力单位和工作压力,选定压力单位进行检测。

第三步,启动发动机,令汽油泵工作,检查连接位置是否正确,有否漏压。如连接位置正确且无漏压,读取显示被测车燃油工作压力。

第四步,检测压力,如低于最低压力值(测量中的最小压力),说明出现故障隐患,应检修。

第五步,熄火,关闭汽油泵。需要时,可释放燃油压力,可用布或纸卷连接接头,慢慢松开放压,并拆离燃油压力表检测系统,重新接回原来的燃油管道连接器。

第六步,启动发动机,测试有无任何地方泄漏。

第七步,将燃油压力表检测系统套件内的汽油放出抹干,结束测试。


    本文来源于 汽车之家车家号-寰球汽车潮