文章详情
去App查看

内燃机不灭 保时捷全新六冲程发动机专利曝光

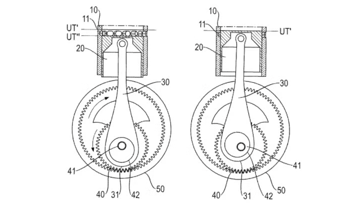
在传统四冲程燃油发动机中,‌四个冲程分别是:进气冲程、压缩冲程、做功冲程和排气冲程‌。‌而最近保时捷向美国专利局申请了一款全新的六冲程发动机专利,相比传统四冲程发动机,曲轴每两转产生一次动力冲程,而保时捷的六冲程发动机曲轴每三转可产生两次动力冲程,其六个冲程包括进气、压缩、做功、再压缩、再做功、排气。



保时捷六冲程发动机不仅可以提高了燃油效率,还可以显著减少了排放,这得益于其复杂的活塞运动和能量管理策略,这使得每一个工作循环可以更完全地燃烧燃料,可以从燃油的爆发中榨取更多的能量,让每一滴燃油更为充分的燃烧。



该发动机的工作原理为:在约 500 度旋转时,活塞接近最低位置,打开缸壁侧孔进行扫气,完成排气并引入空气用于第二次压缩冲程;通过曲轴上的机制改变活塞冲程,约为 83 至 118 毫米;底部的一组端口在活塞最长冲程位置到达下止点时才打开;进气、压缩和第一次做功冲程基本常规,冲程分别为 83 毫米进气、101 毫米压缩、118 毫米做功;之后端口可能流入增压空气,排出剩余废气并充满空气;接着活塞再次上行完成剩余的 118 毫米压缩冲程,期间喷射燃料;然后是常规的 101 毫米做功冲程和 83 毫米排气冲程,完成六冲程和曲轴的三转。



保时捷创新发明如果投入量产,可能会迫使其他汽车制造商重新考虑他们的动力系统开发策略。这项发明不仅促进了技术创新,也可能推动整个行业向更清洁、更高效的驱动技术转型。同时也可以很好的解决目前保时捷在新能源车发力不足的问题,而全新的六冲程发动机出现还将成为发动机行业标杆,该技术的引入预计将使保时捷在未来几年内保持在高性能汽车市场的竞争优势。

但从专利图来看,六冲程引擎相比传统的四冲程引擎的结构和工作原理更为复杂,增加的两个冲程需要额外的机械部件和控制系统来实现,还需要与变速器、排气系统、电子控制单元等的匹配和协调,这可能导致引擎的制造成本上升,同时也增加了维护和修理的难度,当然需要解决与车辆其他系统的兼容性问题,这些都对制造工艺和材料提出了更高要求,内燃机能否不灭,这次就看保时捷的了。

点击展开剩下0%
打开汽车之家App 阅读体验更佳
本内容来自汽车之家创作者,不代表汽车之家的观点和立场。
举报/纠错
打开汽车之家App 查看全部评论
相关阅读
数据加载中...
发条有爱评论~
评论
点赞
收藏
分享
2026-04-24 04:33:47
2026/4/24 04:33:47